Zum Hauptinhalt springen Zur Suche springen Zur Hauptnavigation springen
Kostenloser Versand ab € 349,- deutschlandweit
Servicepartner von über 50 Herstellern
Über 40.000 Ersatzteile im Sortiment
+10 Jahre Erfahrung

Wodtke Copa Ascherost

Ascherost /  Rost / Kaminrost / Gussrost / Feuerrost / Brennraumrost / Rostgitter / Feuerraumrost / Ofenrost / Brennofenrost / Holzofenrost

 

Produktinformationen "Wodtke Copa Ascherost"

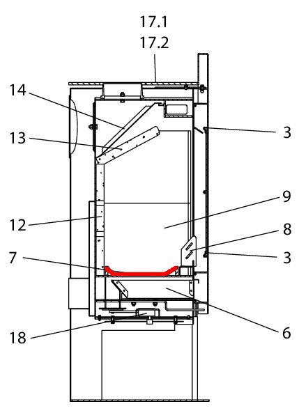
Original Ascherost für den Kaminofen Wodtke Copa

Wodtke Copa Ascherost Eckdaten:

  • Kaminrost, Rostgitter
  • Maße (B/L/H) 259/404 mm x 270 mm x 30 mm
  • Material Guss
  • Position 7 in der Explosionszeichnung
Eigenschaften "Wodtke Copa Ascherost"
Hersteller: Wodtke
Material: Guss
Modell: Copa
Ersatzteilart: Ascherost

EU-Verantwortlicher

wodtke GmbH
Rittweg 55 - 57
D-72070 Tübingen-Hirschau
DE
info@wodtke.com

Ähnliche Artikel

Wodtke Copa Sichtscheibe
Original Sichtscheibe für den Kaminofen Wodtke Copa Wodtke Copa Sichtscheibe Eckdaten: Holzofenglas, Glasscheibe Maße (B/L/H) 440 mm x 400 mm x 4 mm Material Glas hitzebeständig Position 2 in der Explosionszeichnung
Produktnummer: 01001086

707,89 €*¹

Lieferzeit ca. 2-3 Wochen

Ausverkauft
Wodtke Copa Zugumlenkung unten
Original Zugumlenkung unten für den Kaminofen Wodtke Copa KK94 Der Hersteller hat die Produktion dieses Artikels eingestellt. Sofern wir über einen Restbestand verfügen, ist dieses Ersatzteil bei uns erhältlich Wodtke Copa KK94 Zugumlenkung unten Eckdaten: Rauchumlenkung, Umlenkung Maße (B/L/H) 280/400 mm x 250 mm x 30 mm Material Vermiculite Position 13 in der Explosionszeichnung
Produktnummer: 01001094

240,62 €*¹

nicht mehr verfügbar, Produktion eingestellt

Nur 7 auf Lager!
Wodtke Copa Türdichtung
Türdichtung für den Kaminofen Wodtke Copa Wir empfehlen einen Kleber für die Montage, der durch punktuelles Auftragen, unterstützend wirken kann. Auch empfehlen wir Dichtungsabbinder, damit die Dichtschnur-Enden nicht ausfransen. Als optisches Highlight bieten wir ebenfalls Dichtungshülsen an. Wodtke Copa Türdichtung Eckdaten: Ofenschnur, Holzofenschnur Kordeldichtung Länge 3,00 m Durchmesser 10 mm
Produktnummer: 01035595

45,21 €*¹

Sofort verfügbar, Lieferzeit: 2-4 Tage

Wodtke Copa Scheibendichtung
Scheibendichtung für den Kaminofen Wodtke Copa KK94 Wodtke Copa KK94 Scheibendichtung Eckdaten: Glasdichtung, Glasband Flachdichtung Maße (B/H) 8 mm x 2 mm Länge 3,00 m selbstklebend
Produktnummer: 01036235

Inhalt: 3 Meter (9,52 €*¹ / 1 Meter)

28,56 €*¹

Sofort verfügbar, Lieferzeit: 2-4 Tage