Zum Hauptinhalt springen Zur Suche springen Zur Hauptnavigation springen
Kostenloser Versand ab € 349,- deutschlandweit
Servicepartner von über 50 Herstellern
Über 40.000 Ersatzteile im Sortiment
+10 Jahre Erfahrung

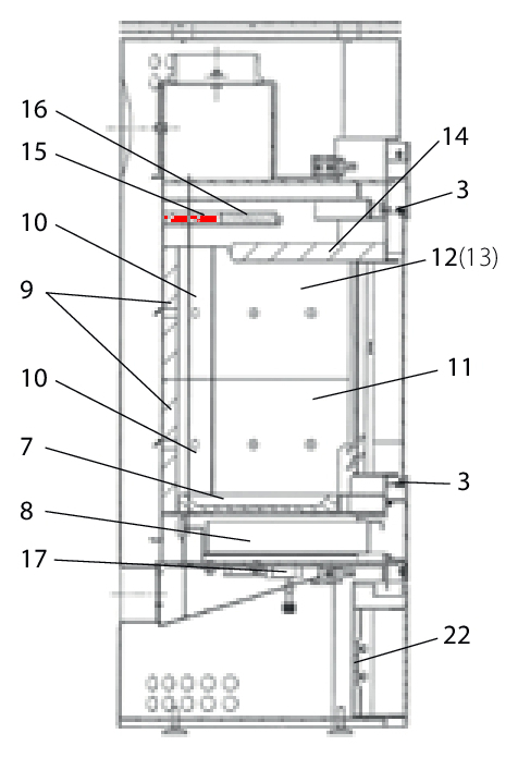
Wodtke KK 99 Zugumlenkung oben hinten

Zugumlenkung /  Rauchgasumlenkung / Prallplatte / Rauchumlenkung / Umlenkung / Flammenschild

 

Produktinformationen "Wodtke KK 99 Zugumlenkung oben hinten"

Original Zugumlenkung oben hinten für den Kaminofen Wodtke KK 99

Wodtke KK 99 Zugumlenkung oben hinten Eckdaten:

  • Rauchgasumlenkung, Prallplatte
  • Maße (B/L/H) 164/325 mm x 98 mm x 22 mm
  • Material Vermiculite
  • Position 15 in der Explosionszeichnung
Eigenschaften "Wodtke KK 99 Zugumlenkung oben hinten"
Hersteller: Wodtke
Material: Vermiculite
Typ: 99
Modell: KK
Ersatzteilart: Zugumlenkung

EU-Verantwortlicher

wodtke GmbH
Rittweg 55 - 57
D-72070 Tübingen-Hirschau
DE
info@wodtke.com

Ähnliche Artikel

Wodtke KK 99 Türdichtung
Türdichtung für den Kaminofen Wodtke KK 99 Wir empfehlen einen Kleber für die Montage, der durch punktuelles Auftragen, unterstützend wirken kann. Auch empfehlen wir Dichtungsabbinder, damit die Dichtschnur-Enden nicht ausfransen. Als optisches Highlight bieten wir ebenfalls Dichtungshülsen an. Wodtke KK 99 Türdichtung Eckdaten: Ofenschnur, Holzofenschnur Kordeldichtung Länge 3,00 m Durchmesser 10 mm
Produktnummer: 01035719

45,21 €*¹

Sofort verfügbar, Lieferzeit: 2-4 Tage

Wodtke KK 99 Ascherost
Original Ascherost für den Kaminofen Wodtke KK 99 Wodtke KK 99 Ascherost Eckdaten: Gussrost, Holzofenrost Maße (B/L/H) 275 mm x 273 mm x 30 mm Material Guss
Produktnummer: 01037047

214,93 €*¹

Sofort verfügbar, Lieferzeit: 2-4 Tage

Wodtke KK 99 Sichtscheibe
Original Sichtscheibe für den Kaminofen Wodtke KK 99 Wodtke KK 99 Sichtscheibe Eckdaten: Glaskeramik, Kaminscheibe Maße (B/L/H) 325 mm x 350 mm x 4 mm Material Glas Form flach hitzebeständig Position 2 in der Explosionszeichnung
Produktnummer: 01037247

828,09 €*¹

Lieferzeit ca. 2-3 Wochen

Wodtke KK 99 Zugumlenkung unten
Original Zugumlenkung unten für den Kaminofen Wodtke KK 99 Wodtke KK 99 Zugumlenkung unten Eckdaten: Rauchgasumlenkung, Flammenschild Maße (B/L/H) 300 mm x 246 mm x 30 mm Material Vermiculite Position 14 in der Explosionszeichnung
Produktnummer: 01037527

250,69 €*¹

Lieferzeit ca. 2-3 Wochen

Wodtke KK 99 Scheibendichtung
Scheibendichtung für den Kaminofen Wodtke KK 99 Wodtke KK 99 Scheibendichtung Eckdaten: Glasdichtung, Dichtschnur Flachdichtung Maße (B/H) 8 mm x 2 mm Länge 3,00 m selbstklebend
Produktnummer: 01039923

Inhalt: 3 Meter (9,52 €*¹ / 1 Meter)

28,56 €*¹

Sofort verfügbar, Lieferzeit: 2-4 Tage