Zum Hauptinhalt springen Zur Suche springen Zur Hauptnavigation springen
Kostenloser Versand ab € 349,- deutschlandweit
Servicepartner von über 50 Herstellern
Über 40.000 Ersatzteile im Sortiment
+10 Jahre Erfahrung

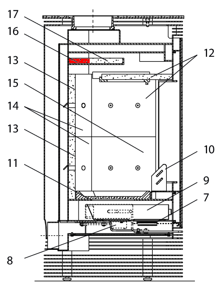
Wodtke KK 55 Zugumlenkung oben hinten

Zugumlenkung /  Rauchgasumlenkung / Prallplatte / Rauchumlenkung / Umlenkung / Flammenschild

 

Produktinformationen "Wodtke KK 55 Zugumlenkung oben hinten"

Original Zugumlenkung oben hinten für den Kaminofen Wodtke KK 55

Wodtke KK 55 Zugumlenkung oben hinten Eckdaten:

  • Rauchgasumlenkung, Prallplatte
  • Maße (B/L/H) 164/325 mm x 98 mm x 22 mm
  • Material Vermiculite
  • Position 16 in der Explosionszeichnung
Eigenschaften "Wodtke KK 55 Zugumlenkung oben hinten"
Hersteller: Wodtke
Material: Vermiculite
Typ: 55
Modell: KK
Ersatzteilart: Zugumlenkung

EU-Verantwortlicher

wodtke GmbH
Rittweg 55 - 57
D-72070 Tübingen-Hirschau
DE
info@wodtke.com

Ähnliche Artikel

Nur 7 auf Lager!
Wodtke KK 55 Türdichtung
Türdichtung für den Kaminofen Wodtke KK 55 Wir empfehlen einen Kleber für die Montage, der durch punktuelles Auftragen, unterstützend wirken kann. Auch empfehlen wir Dichtungsabbinder, damit die Dichtschnur-Enden nicht ausfransen. Als optisches Highlight bieten wir ebenfalls Dichtungshülsen an. Wodtke KK 55 Türdichtung Eckdaten: Türband, Ofenschnur Kordeldichtung Länge 3,00 m Durchmesser 10 mm
Produktnummer: 01035710

45,21 €*¹

Sofort verfügbar, Lieferzeit: 2-4 Tage

Wodtke KK 55 Ascherost
Original Ascherost für den Kaminofen Wodtke KK 55 Wodtke KK 55 Ascherost Eckdaten: Gussrost, Brennraumrost Maße (B/L/H) 275 mm x 273 mm x 30 mm Material Guss Position 13 in der Explosionszeichnung
Produktnummer: 01037069

214,93 €*¹

Sofort verfügbar, Lieferzeit: 2-4 Tage

Nur 1 auf Lager!
Wodtke KK 55 Sichtscheibe schwarz bedruckt
Original Sichtscheibe für den Kaminofen Wodtke KK 55 Der Hersteller hat die Produktion dieses Artikels eingestellt. Sofern wir über einen Restbestand verfügen, ist dieses Ersatzteil bei uns erhältlich Wodtke KK 55 Sichtscheibe Eckdaten: Kaminglas, Glas Maße (B/L/H) 347 mm x 692 mm x 4 mm Bogenlänge 390 mm Material Glas hitzebeständig schwarz bedruckt Position 3 in der Explosionszeichnung
Produktnummer: 01037658

1.887,63 €*¹

Sofort verfügbar, Lieferzeit: 2-4 Tage

Ausverkauft
Wodtke KK 55 Zugumlenkung unten Set
Original Zugumlenkung unten Set für den Kaminofen Wodtke KK 55 Der Hersteller hat die Produktion dieses Artikels eingestellt. Sofern wir über einen Restbestand verfügen, ist dieses Ersatzteil bei uns erhältlich Dieses Set ersetzt den bisherigen Gussrahmen samt Zugumlenkung unten. (ist nun anders konstruiert) 3-teiliges Set Wodtke KK 55 Zugumlenkung unten Eckdaten: Material Vermiculite gelochter Seitenstein links oben, gelochter Seitenstein rechts oben, Zugumlenkung unten
Produktnummer: 01037938

510,21 €*¹

nicht mehr verfügbar, Produktion eingestellt

Wodtke KK 55 Scheibendichtung
Scheibendichtung für den Kaminofen Wodtke KK 55 Wodtke KK 55 Scheibendichtung Eckdaten: Dichtung, Ofenschnur Flachdichtung Maße (B/H) 8 mm x 2 mm Länge 6,00 m selbstklebend
Produktnummer: 01039925

Inhalt: 6 Meter (9,52 €*¹ / 1 Meter)

57,12 €*¹

Sofort verfügbar, Lieferzeit: 2-4 Tage