Zum Hauptinhalt springen Zur Suche springen Zur Hauptnavigation springen
Kostenloser Versand ab € 349,- deutschlandweit
Servicepartner von über 50 Herstellern
Über 40.000 Ersatzteile im Sortiment
+10 Jahre Erfahrung

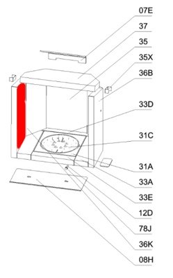
Olsberg Mayon Seitenstein links vorne

Seitenstein /  Brennraumstein / Feuerraumstein / Kaminofenstein / Brennofenstein / Ofenstein / Holzofenstein

 

Produktinformationen "Olsberg Mayon Seitenstein links vorne"

Original Seitenstein links vorne für den Kaminofen Olsberg Mayon

  • Der Hersteller hat die Produktion dieses Artikels eingestellt. Sofern wir über einen Restbestand verfügen, ist dieses Ersatzteil bei uns erhältlich

Olsberg Mayon Seitenstein links vorne Eckdaten:

  • Brennraumstein, Ofenstein
  • Maße (B/L/H) 280 mm x 335 mm x 35 mm
  • Material Schamotte
  • Position 36B in der Explosionszeichnung
Eigenschaften "Olsberg Mayon Seitenstein links vorne"
Hersteller: Olsberg
Material: Schamotte
Modell: Mayon
Ersatzteilart: Seitenstein

EU-Verantwortlicher

Olsberg GmbH
Hüttenstraße 38
59939 Olsberg
DE
info@olsberg.com

Ähnliche Artikel

Ausverkauft
Olsberg Mayon Sichtscheibe A
Original Sichtscheibe A für den Kaminofen Olsberg Mayon Der Hersteller hat die Produktion dieses Artikels eingestellt. Sofern wir über einen Restbestand verfügen, ist dieses Ersatzteil bei uns erhältlich Olsberg Mayon Sichtscheibe Eckdaten: Holzofenglas, Glas Maße (B/L/H) 395 mm x 465 mm x 4 mm Material Glas hitzebeständig Position 81 in der Explosionszeichnung
Produktnummer: 01000454

580,57 €*¹

nicht mehr verfügbar, Produktion eingestellt

Ausverkauft
Olsberg Mayon Zugumlenkung
Original Zugumlenkung für den Kaminofen Olsberg Mayon Der Hersteller hat die Produktion dieses Artikels eingestellt. Sofern wir über einen Restbestand verfügen, ist dieses Ersatzteil bei uns erhältlich Olsberg Mayon Zugumlenkung Eckdaten: Rauchgasumlenkung, Umlenkung Maße (B/L/H) 400 mm x 30 mm x 230 mm Material Schamotte Position 37 in der Explosionszeichnung
Produktnummer: 01000458

107,67 €*¹

nicht mehr verfügbar, Produktion eingestellt

Olsberg Mayon Ascherost
Original Ascherost für den Kaminofen Olsberg Mayon Olsberg Mayon Ascherost Eckdaten: Kaminrost, Feuerraumrost Maße (H) 30 mm Durchmesser 204 mm Material Guss Form rund
Produktnummer: 01025001

158,34 €*¹

Lieferzeit ca. 2-3 Wochen

Olsberg Mayon Sichtscheibe B
Original Sichtscheibe B für den Kaminofen Olsberg Mayon Olsberg Mayon Sichtscheibe Eckdaten: Scheibe, Kaminscheibe Maße (B/L/H) 450 mm x 600 mm x 4 mm Material Glas hitzebeständig
Produktnummer: 01025932

1.245,60 €*¹

Lieferzeit ca. 2-3 Wochen

Nur 5 auf Lager!
Olsberg Mayon Türdichtung Set
Türdichtung Set für den Kaminofen Olsberg Mayon 7-teiliges Set Olsberg Mayon Türdichtung Eckdaten: 7-teiliges Set Kordeldichtung Durchmesser 12 mm Länge 3 m Kleber Tube 17 ml Inhalt 1 Stück Dichtungsabbinder 4 Streifen Dichtungshülse (kaschiert optimal die Enden der Dichtschnur) 1 Stück
Produktnummer: 01025948

Inhalt: 3 Meter (14,06 €*¹ / 1 Meter)

42,19 €*¹

Sofort verfügbar, Lieferzeit: 2-4 Tage

Olsberg Mayon Scheibendichtung
Scheibendichtung für den Kaminofen Olsberg Mayon Olsberg Mayon Scheibendichtung Eckdaten: Ofenschnur, Holzofenschnur Flachdichtung Maße (B/H) 8 mm x 2 mm Länge 2,00 m selbstklebend
Produktnummer: 01026087

Inhalt: 2 Meter (15,84 €*¹ / 1 Meter)

31,67 €*¹

Sofort verfügbar, Lieferzeit: 2-4 Tage

Ausverkauft
Olsberg Mayon Feuerraumauskleidung
Original Feuerraumauskleidung für den Kaminofen Olsberg Mayon Der Hersteller hat die Produktion dieses Artikels eingestellt. Sofern wir über einen Restbestand verfügen, ist dieses Ersatzteil bei uns erhältlich Olsberg Mayon Feuerraumauskleidung Eckdaten: 10 Stück Brennraumsteine, Schamottesteine Material Schamotte Bodenstein links (70 x 260 x 30 mm), Bodenstein rechts (70 x 260 x 30 mm) Bodenstein vorne (230 x 40 x 30 mm), Bodenstein hinten (250 x 30 x 30 mm) Seitenstein links vorne (190 x 365/420 x 30 mm), Seitenstein rechts vorne (190 x 365/420 x 30 mm) Seitenstein links hinten ( 136 x 360 x 30 mm), Seitenstien links hinten (136 x 360 x 30 mm)  Rückwandstein (230 x 333 x 30 mm) Zugumlenkung (400 x 230 x 30 mm)
Produktnummer: 01042202

569,68 €*¹

nicht mehr verfügbar, Produktion eingestellt