Zum Hauptinhalt springen Zur Suche springen Zur Hauptnavigation springen
Kostenloser Versand ab € 349,- deutschlandweit
Servicepartner von über 50 Herstellern
Über 40.000 Ersatzteile im Sortiment
+10 Jahre Erfahrung

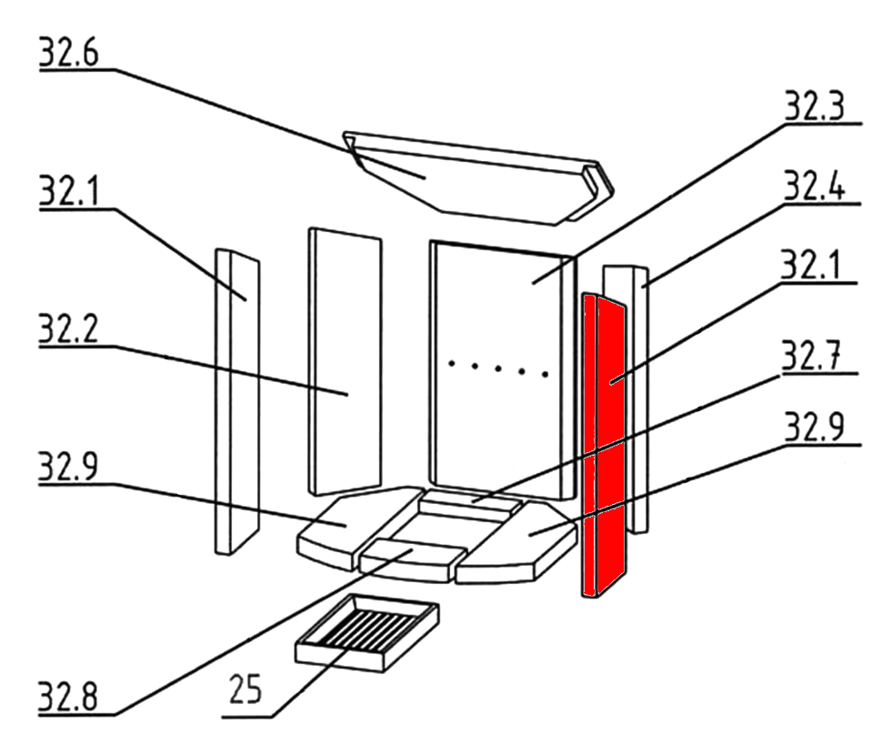
Justus Kaskade 8 Seitenstein rechts vorne C

Seitenstein /  Brennraumstein / Feuerraumstein / Kaminofenstein / Brennofenstein / Ofenstein / Holzofenstein

 

Produktinformationen "Justus Kaskade 8 Seitenstein rechts vorne C"

Original Seitenstein rechts vorne C für den Kaminofen Justus Kaskade 8

  • Es gibt verschiedene Ausmauerungen für dieses Modell. Bitte orientieren Sie sich an den Maßen der Feuerraumsteine.
  • Markantes Merkmal dieser Ausmauerung ist der Bodenstein vorne (155 x 34 x 30 mm).

Justus Kaskade 8 Seitenstein rechts vorne Eckdaten:

  • Ofenstein, Holzofenstein
  • Maße (B/L/H) 95 mm x 568 mm x 25 mm
  • Material Grenamat
  • Position 32.1 in der Explosionszeichnung
Eigenschaften "Justus Kaskade 8 Seitenstein rechts vorne C"
Hersteller: Justus
Material: Grenamat
Typ: 8
Modell: Kaskade
Ersatzteilart: Seitenstein

EU-Verantwortlicher

Justus GmbH
Sechsheldener Straße 122
35708 Haiger-Sechshelden
DE
info@justus.de

Ähnliche Artikel

Justus Kaskade 8 Ascherost
Original Ascherost für den Kaminofen Justus Kaskade 8 Justus Kaskade 8 Ascherost Eckdaten: Kaminrost, Feuerrost Maße (B/L/H) 254 mm x 154 mm x 30 mm Material Guss
Produktnummer: 01016171

80,96 €*¹

Sofort verfügbar, Lieferzeit: 2-4 Tage

Justus Kaskade 8 Zugumlenkung oben C
Original Zugumlenkung oben C für den Kaminofen Justus Kaskade 8 Es gibt verschiedene Ausmauerungen für dieses Modell. Bitte orientieren Sie sich an den Maßen der Feuerraumsteine. Markantes Merkmal dieser Ausmauerung ist der Bodenstein vorne (155 x 34 x 30 mm). Justus Kaskade 8 Zugumlenkung oben Eckdaten: Rauchgasumlenkung, Flammenschild Maße (B/L/H) 190 mm x 260/366 mm x 25 mm Material Grenamat Position 32.5 in der Explosionszeichnung
Produktnummer: 01016747

57,44 €*¹

Sofort verfügbar, Lieferzeit: 2-4 Tage

Nur 4 auf Lager!
Justus Kaskade 8 Zugumlenkung unten C
Original Zugumlenkung unten C für den Kaminofen Justus Kaskade 8 Es gibt verschiedene Ausmauerungen für dieses Modell. Bitte orientieren Sie sich an den Maßen der Feuerraumsteine. Markantes Merkmal dieser Ausmauerung ist der Bodenstein vorne (155 x 34 x 30 mm). Justus Kaskade 8 Zugumlenkung unten Eckdaten: Rauchgasumlenkung, Prallplatte Maße (B/L/H) 215 mm x 300/463 mm x 25 mm Material Grenamat Position 32.6 in der Explosionszeichnung
Produktnummer: 01016757

57,44 €*¹

Sofort verfügbar, Lieferzeit: 2-4 Tage

Nur 3 auf Lager!
Justus Kaskade 8 Feuerraumauskleidung C
Original Feuerraumauskleidung C für den Kaminofen Justus Kaskade 8 Es gibt verschiedene Ausmauerungen für dieses Modell. Bitte orientieren Sie sich an den Maßen der Feuerraumsteine. Markantes Merkmal dieser Ausmauerung ist der Bodenstein vorne (155 x 34 x 30 mm). 11-teiliges Set Justus Kaskade 8 Feuerraumauskleidung Eckdaten: 11 Stück Feuerraumauskleidung, Brennraumsteine Material Vermiculite Bodenstein vorne (155 x 22/34 x 30 mm), Bodenstein hinten (154 x 53 x 30 mm) Bodenstein links (139 x 332 x 30 mm), Bodenstein rechts (139 x 332 x 30 mm) Seitenstein links vorne (95 x 520/568 x 25 mm), Seitenstein rechts vorne (95 x 520/568 x 25 mm) Seitenstein links hinten (137 x 468/520 x 25 mm), Seitenstein rechts hinten (137 x 468/520 x 25 mm) Rückwandstein (264 x 470 x 25 mm) Zugumlenkung unten (300/463 x 215 x 25 mm), Zugumlenkung oben (260/366 x 190 x 25)
Produktnummer: 01021069

330,61 €*¹

Sofort verfügbar, Lieferzeit: 2-4 Tage