Zum Hauptinhalt springen Zur Suche springen Zur Hauptnavigation springen
Kostenloser Versand ab € 349,- deutschlandweit
Servicepartner von über 50 Herstellern
Über 40.000 Ersatzteile im Sortiment
+10 Jahre Erfahrung

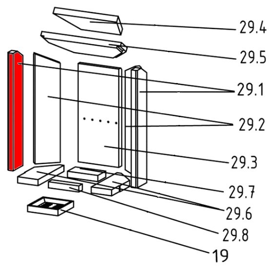
Justus Island 5 Seitenstein links vorne A

Seitenstein /  Brennraumstein / Feuerraumstein / Kaminofenstein / Brennofenstein / Ofenstein / Holzofenstein

 

Produktinformationen "Justus Island 5 Seitenstein links vorne A"

Original Seitenstein links vorne A für den Kaminofen Justus Island 5

  • Es gibt verschiedene Feuerraumauskleidungen für den Island 5. Bitte orientieren Sie sich an den Maßen der Brennraumsteine.
  • passend für den Feuerraum, bei dem die stehenden Seitensteine glatt sind

Justus Island 5 Seitenstein links vorne Eckdaten:

  • Kaminofenstein, Ofenstein
  • Maße (B/L/H) 82 mm x 450/480 mm x 25 mm
  • Material Grenamat
  • Position 29.1 in der Explosionszeichnung
Eigenschaften "Justus Island 5 Seitenstein links vorne A"
Hersteller: Justus
Material: Grenamat
Typ: 5
Modell: Island
Ersatzteilart: Seitenstein

EU-Verantwortlicher

Justus GmbH
Sechsheldener Straße 122
35708 Haiger-Sechshelden
DE
info@justus.de

Ähnliche Artikel

Nur 8 auf Lager!
Justus Island 5 Zugumlenkung unten A
Original Zugumlenkung unten A für den Kaminofen Justus Island 5 Es gibt verschiedene Feuerraumauskleidungen für den Island 5. Bitte orientieren Sie sich an den Maßen der Brennraumsteine. passend für den Feuerraum, bei dem die stehenden Seitensteine glatt sind Justus Island 5 Zugumlenkung unten Eckdaten: Prallplatte, Umlenkung Maße (B/L/H) 347 mm x 159 mm x 25 mm Material Vermiculite Position 29.5 in der Explosionszeichnung
Produktnummer: 01001667

37,87 €*

Sofort verfügbar, Lieferzeit: 2-4 Tage

Justus Island 5 Ascherost
Original Ascherost für den Kaminofen Justus Island 5 Justus Island 5 Ascherost Eckdaten: Brennofenrost, Holzofenrost Maße (B/L/H) 135 mm x 135 mm x 30 mm Material Guss
Produktnummer: 01016581

58,71 €*

Sofort verfügbar, Lieferzeit: 2-4 Tage

Justus Island 5 Sichtscheibe A
Original Sichtscheibe A für den Kaminofen Justus Island 5 Es gibt verschiedene Glasscheiben für dieses Modell. Bitte orientieren Sie sich an der Verriegelung Ihres Kamins. Bitte orientieren Sie sich an den Maßen der Sichtscheibe. Justus Island 5 Sichtscheibe Eckdaten: Holzofenglas, Schauglas Maße (B/L/H) 315 mm x 405 mm x 4 mm Material Glas Form rechteckig hitzebeständig Position 5 in der Explosionszeichnung
Produktnummer: 01017312

145,03 €*

Sofort verfügbar, Lieferzeit: 2-4 Tage

Justus Island 5 Scheibendichtung A
Scheibendichtung A für den Kaminofen Justus Island 5 Für den Justus Island 5 gibt es 2 verschiedene Scheibendichtungen. Bitte orientieren Sie sich an der Form Ihrer vorhandenen Glasdichtung. (Flachdichtung oder Set aus verschiedenen Dichtschnüren) Justus Island 5 Scheibendichtung Eckdaten: Glasband, Holzofenschnur Selbstklebende Dichtung Maße (B/H) 10 mm x 2 mm Länge 2,00 m selbstklebend
Produktnummer: 01018565

Inhalt: 2 Meter (12,77 €* / 1 Meter)

25,54 €*

Sofort verfügbar, Lieferzeit: 2-4 Tage

Justus Island 5 Türdichtung A
Türdichtung A für den Kaminofen Justus Island 5 Es gibt verschiedene Türdichtungen für diesen Kaminofen. Bitte orientieren Sie sich an der Form Ihrer vorhandenen Dichtung. (Kordelflachdichtung oder Hohlkordeldichtung) Wir empfehlen einen Kleber und zusätzlich Dichtungsabbinder, die das Ausfransen der Enden verhindern. Justus Island 5 Türdichtung Eckdaten: Dichtschnur, Holzofenschnur Kordeldichtung Maße (B/H) 10 mm x 6 mm Länge 3,00 m
Produktnummer: 01018834

Inhalt: 3 Meter (9,69 €* / 1 Meter)

29,07 €*

Sofort verfügbar, Lieferzeit: 2-4 Tage

Nur 1 auf Lager!
Justus Island 5 Feuerraumauskleidung A
Original Feuerraumauskleidung A für den Kaminofen Justus Island 5 Es gibt verschiedene Ausmauerungen für dieses Modell. Bitte orientieren Sie sich an der Oberfläche der stehenden Platten. (glatt oder gewellt) Die stehenden Steine dieser Garnitur haben eine glatte Oberfläche. 11-teiliges Set Justus Island 5 Feuerraumauskleidung Eckdaten: Material Grenamat Bodenstein links (93 x 140/223 x 30 mm), Bodenstein rechts (93 x 140/223 x 30 mm), Bodenstein vorne (135 x 25 x 30 mm), Bodenstein hinten (135 x 62 x 30 mm), Seitenstein links vorne (480/450 x 82 x 25 mm), Seitenstein links hinten (450/405 x 102 x 25 mm) Seitenstein rechts vorne (480/450 x 82 x 25 mm), Seitenstein rechts hinten (450/405 x 102 x 25 mm) gelochter Rückwandstein (402 x 179 x 25 mm) Zugumlenkung oben (280 x 170/175 x 25 mm), Zugumlenkung unten (350/182 x 159 x 25 mm)
Produktnummer: 01019567

330,61 €*

Sofort verfügbar, Lieferzeit: 2-4 Tage

Nur 1 auf Lager!
Justus Island 5 Bodenstein Set A
Original Bodenstein Set A für den Kaminofen Justus Island 5 Justus Island 5 Bodenstein Eckdaten: 4 Stück Bodenstein Set, liegende Brennraumsteine Set Material Vermiculite Bodenstein links (93 x 140/223 x 30 mm), Bodenstein rechts (93 x 140/223 x 30 mm), Bodenstein vorne (135 x 25 x 30 mm), Bodenstein hinten (135 x 62 x 30 mm), Positionen 29.6L, 29.6R, 29.7 und 29.8 in der Explosionszeichnung
Produktnummer: 01020919

144,87 €*

Sofort verfügbar, Lieferzeit: 2-4 Tage

Nur 1 auf Lager!
Justus Island 5 Seitenstein Set A
Original Seitenstein Set A für den Kaminofen Justus Island 5 passend für den Feuerraum, bei dem die stehenden Seitensteine glatt sind 5-teiliges Set Justus Island 5 Seitenstein Eckdaten: 5 Stück Seitenstein Set, seitliche Brennraumsteine Set Material Vermiculite Seitenstein links vorne (480/450 x 82 x 25 mm), Seitenstein links hinten (450/405 x 102 x 25 mm) Seitenstein rechts vorne (480/450 x 82 x 25 mm), Seitenstein rechts hinten (450/405 x 102 x 25 mm) gelochter Rückwandstein (402 x 179 x 25 mm) Positionen 29.1, 29.2 und 29.3 in der Explosionszeichnung
Produktnummer: 01022359

191,66 €*

Sofort verfügbar, Lieferzeit: 2-4 Tage