Zum Hauptinhalt springen Zur Suche springen Zur Hauptnavigation springen
Kostenloser Versand ab € 349,- deutschlandweit
Servicepartner von über 50 Herstellern
Über 40.000 Ersatzteile im Sortiment
+10 Jahre Erfahrung

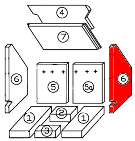
Justus Bavaria Seitenstein rechts C

Seitenstein /  Brennraumstein / Feuerraumstein / Kaminofenstein / Brennofenstein / Ofenstein / Holzofenstein

 

Original Seitenstein rechts C für den Kaminofen Justus Bavaria Typ 6347

  • Üblicherweise ist dieser Brennraumstein Bestandteil der Ausmauerung C, deren markantes Merkmal der gelochte Rückwandstein links (209x254x25 mm) ist.

Justus Bavaria Typ 6347 Seitenstein rechts Eckdaten:

  • Brennofenstein, Holzofenstein
  • Vermiculitesteine
  • Maße (B/L/H) 265 mm x 393 mm x 25 mm
  • Material Vermiculite
  • Position 6 in der Explosionszeichnung
Eigenschaften "Justus Bavaria Seitenstein rechts C"
Hersteller: Justus
Material: Vermiculite
Typ 2: Typ 6347
Modell: Bavaria
Ersatzteilart: Seitenstein

EU-Verantwortlicher

Justus GmbH
Sechsheldener Straße 122
35708 Haiger-Sechshelden
DE
info@justus.de

Ähnliche Artikel

Nur 5 auf Lager!
Justus Bavaria Zugumlenkung oben C
Original Zugumlenkung oben C für den Kaminofen Justus Bavaria Es gibt verschiedene Feuerraumauskleidungen für den Bavaria. Üblicherweise ist dieser Brennraumstein Bestandteil der Ausmauerung C, deren markantes Merkmal der gelochte Rückwandstein links (209 x 254 x 25 mm) ist. Der Hersteller hat die Zugumlenkung geändert an der Längsseite ist hat diese jeweils rechts und links eine Einkerbung. Herstellerbedingt kann es noch dazu kommen, dass Sie den Vorgänger erhalten Justus Bavaria Zugumlenkung oben Eckdaten: Prallplatte, Flammenschild Maße (B/L/H) 425 mm x 285 mm x 25 mm Material Grenamat Position 4 in der Explosionszeichnung
Produktnummer: 01001777

67,86 €*¹

Sofort verfügbar, Lieferzeit: 2-4 Tage

Justus Bavaria Sichtscheibe C
Original Sichtscheibe C für den Kaminofen Justus Bavaria Passend zu Serie I, alle Farbvarianten Justus Bavaria Sichtscheibe Eckdaten: Ofenglas, Glas Maße (B/L/H) 300 mm x 365 mm x 4 mm Material Glas Form rechteckig hitzebeständig Position 2 in der Explosionszeichnung
Produktnummer: 01008453

163,65 €*¹

Lieferzeit ca. 2-3 Wochen

Justus Bavaria Ascherost
Original Ascherost für den Kaminofen Justus Bavaria Justus Bavaria Ascherost Eckdaten: Kaminrost, Holzofenrost Maße (B/L/H) 135 mm x 135 mm x 30 mm Material Guss
Produktnummer: 01016587

58,71 €*¹

Sofort verfügbar, Lieferzeit: 2-4 Tage

Nur 8 auf Lager!
Justus Bavaria Zugumlenkung unten C
Original Zugumlenkung unten C für den Kaminofen Justus Bavaria Es gibt verschiedene Feuerraumauskleidungen für den Bavaria. Bitte orientieren Sie sich an den Maßen der Brennraumsteine. Üblicherweise ist dieser Brennraumstein Bestandteil der Ausmauerung C, deren markantes Merkmal der gelochte Rückwandstein links (209 x 254 x 25 mm) ist. Justus Bavaria Zugumlenkung unten Eckdaten: Prallplatte, Flammenschild Maße (B/L/H) 420 mm x 205 mm x 30 mm Material Grenamat Position 7 in der Explosionszeichnung
Produktnummer: 01016591

67,86 €*¹

Sofort verfügbar, Lieferzeit: 2-4 Tage

Justus Bavaria Türdichtung Set
Türdichtung Set für den Kaminofen Justus Bavaria 5-teiliges Set Justus Bavaria Türdichtung Eckdaten: Dichtband, Dichtschnur Kordeldichtung Länge 2m Durchmesser 10mm Kleber Eckdaten: 1 Stück Inhalt 17ml hitzebeständig Dichtungshülse Eckdaten: 1 Stück Durchmesser 10mm Dichtungsabbinder 2 Streifen
Produktnummer: 01018344

44,61 €*¹

Sofort verfügbar, Lieferzeit: 2-4 Tage

Justus Bavaria Scheibendichtung C
Scheibendichtung C für den Kaminofen Justus Bavaria Typ 4632-6 Justus Bavaria Typ 4632-6 Scheibendichtung Eckdaten: Glasdichtung, Ofenschnur Selbstklebende Dichtung Maße (B/H) 10 mm x 2 mm Länge 3,00 m selbstklebend
Produktnummer: 01018639

Inhalt: 3 Meter (10,56 €*¹ / 1 Meter)

31,69 €*¹

Sofort verfügbar, Lieferzeit: 2-4 Tage

Nur 1 auf Lager!
Justus Bavaria Feuerraumauskleidung C
Original Feuerraumauskleidung C für den Kaminofen Justus Bavaria Typ 4634-7 Markantes Merkmal dieser Ausmauerung ist der gelochte Rückwandstein links (209 x 254 x 25 mm). 10-teiliges Set Justus Bavaria Typ 4634-7 Feuerraumauskleidung Eckdaten: Material Grenamat Bodenstein vorne (135 x 43 x 30 mm), Bodenstein hinten (135 x 89 x 30 mm) Bodenstein links (120 x 268 x 30 mm), Bodenstein rechts (120 x 268 x 30 mm) Seitenstein links (265 x 254/393 x 25 mm), Seitenstein rechts (265 x 254/393 x 25 mm) gelochter Rückwandstein links (209 x 254 x 25 mm), gelochter Rückwandstein rechts (209 x 254 x 25 mm) Zugumlenkung unten (420 x 205 x 30 mm), Zugumlenkung oben (425 x 264 x 25 mm) Positionen 1, 2, 3, 4, 5, 5a, 6 und 7 in der Explosionszeichnung  
Produktnummer: 01020061

392,47 €*¹

Sofort verfügbar, Lieferzeit: 2-4 Tage

Nur 1 auf Lager!
Justus Bavaria Bodenstein Set C
Original Bodenstein Set C für den Kaminofen Justus Bavaria Typ 4634-7 Üblicherweise ist dieser Brennraumstein Bestandteil der Ausmauerung C, deren markantes Merkmal der gelochte Rückwandstein links (209x254x25 mm) ist. 4-teiliges Set Justus Bavaria Typ 4634-7 Bodenstein Eckdaten: 4 Stück Bodenstein Set, liegende Brennraumsteine Set Material Vermiculite Bodenstein vorne (135 x 43 x 30 mm), Bodenstein hinten (135 x 89 x 30 mm) Bodenstein links (120 x 268 x 30 mm), Bodenstein rechts (120 x 268 x 30 mm) Positionen 1, 2 und 3 in der Explosionszeichnung
Produktnummer: 01021143

165,70 €*¹

Sofort verfügbar, Lieferzeit: 2-4 Tage

Nur 4 auf Lager!
Justus Bavaria Seitenstein Set C
Original Seitenstein Set C für den Kaminofen Justus Bavaria Typ 6347 Üblicherweise ist dieser Brennraumstein Bestandteil der Ausmauerung C, deren markantes Merkmal der gelochte Rückwandstein links (209x254x25 mm) ist. 4-teiliges Set Justus Bavaria Typ 6347 Seitenstein Eckdaten: 4 Stück Seitenstein Set, seitliche Brennraumsteine Set Material Vermiculite Seitenstein links (265 x 254/393 x 25 mm), Seitenstein rechts (265 x 254/393 x 25 mm) gelochter Rückwandstein links (209 x 254 x 25 mm), gelochter Rückwandstein rechts (209 x 254 x 25 mm) Positionen 5, 5a und 6 in der Explosionszeichnung
Produktnummer: 01022751

205,86 €*¹

Sofort verfügbar, Lieferzeit: 2-4 Tage