Zum Hauptinhalt springen Zur Suche springen Zur Hauptnavigation springen
Kostenloser Versand ab € 349,- deutschlandweit
Servicepartner von über 50 Herstellern
Über 40.000 Ersatzteile im Sortiment
+10 Jahre Erfahrung

Drooff Sondrio 3 Seitenstein rechts

Seitenstein /  Brennraumstein / Feuerraumstein / Kaminofenstein / Brennofenstein / Ofenstein / Holzofenstein

 

Produktinformationen "Drooff Sondrio 3 Seitenstein rechts"

Original Seitenstein rechts für den Kaminofen Drooff Sondrio 3

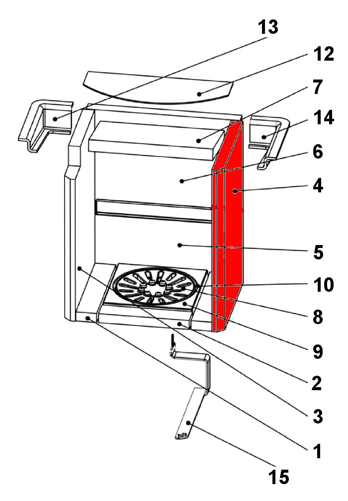
Drooff Sondrio 3 Seitenstein rechts Eckdaten:

  • Kaminofenstein, Brennofenstein
  • Maße (B/L/H) 280 mm x 448 mm x 30 mm
  • Material Schamotte
  • Form rechteckig
  • Position 4 in der Explosionszeichnung
Eigenschaften "Drooff Sondrio 3 Seitenstein rechts"
Form: rechteckig
Hersteller: Drooff
Material: Schamotte
Typ: 3
Modell: Sondrio
Ersatzteilart: Seitenstein

EU-Verantwortlicher

Drooff Kaminöfen GmbH & Co. KG
Keffelker Straße 40
59929 Brilon
DE
info@drooff-kaminofen.de

Ähnliche Artikel

Drooff Sondrio 3 Sichtscheibe
Original Sichtscheibe für den Kaminofen Drooff Sondrio 3 Drooff Sondrio 3 Sichtscheibe Eckdaten: Türglas, Scheibe Maße (B/L/H) 328 mm x 442 mm x 4 mm Bogenlänge 347 mm Form gebogen hitzebeständig
Produktnummer: 01006524

1.166,80 €*

Lieferzeit ca. 2-3 Wochen

Drooff Sondrio 3 Scheibendichtung
Scheibendichtung für den Kaminofen Drooff Sondrio 3 Drooff Sondrio 3 Scheibendichtung Eckdaten: Dichtschnur, Dichtung Flachdichtung Maße (B/H) 8 mm x 2 mm Länge 4,00 m selbstklebend
Produktnummer: 01030694

Inhalt: 4 Meter (10,41 €* / 1 Meter)

41,64 €*

Sofort verfügbar, Lieferzeit: 2-4 Tage

Drooff Sondrio 3 Türdichtung
Türdichtung für den Kaminofen Drooff Sondrio 3 Wir empfehlen einen Kleber als Montagehilfe. Auch bieten wir Dichtungsabbinder und eine Dichtungshülse für die Dichtschnurenden. Drooff Sondrio 3 Türdichtung Eckdaten: Türband, Holzofenschnur Kordeldichtung Länge 3,00 m Durchmesser 10 mm
Produktnummer: 01030703

Inhalt: 3 Meter (21,69 €* / 1 Meter)

65,07 €*

Sofort verfügbar, Lieferzeit: 2-4 Tage

Nur 1 auf Lager!
Drooff Sondrio 3 Ascherost
Original Ascherost für den Kaminofen Drooff Sondrio 3 Drooff Sondrio 3 Ascherost Eckdaten: Rost, Feuerrost Maße (H) 18 mm Durchmesser 200 mm Material Guss Position 8 in der Explosionszeichnung
Produktnummer: 01030707

119,73 €*

Sofort verfügbar, Lieferzeit: 2-4 Tage

Drooff Sondrio 3 Feuerraumauskleidung
Original Feuerraumauskleidung für den Kaminofen Drooff Sondrio 3 Die Guss-Rückwandplatte unten (Pos. 5) ist nicht im Lieferumfang enthalten. 7-teiliges Set Drooff Sondrio 3 Feuerraumauskleidung Eckdaten: Feuerraumauskleidung, Brennraumsteine Material Schamotte Bodenstein vorne (229 x 49 x 26 mm) Bodenstein links (52 x 278 x 26 mm), Bodenstein rechts (52 x 278 x 26 mm) Seitenstein links (280 x 448/392 x 30 mm), Seitenstein rechts (448 x 280 x 30 mm) Rückwandstein oben (386 x 251 x 30 mm) Zugumlenkung unten (312 x 200 x 30 mm) Positionen 1, 2, 3, 4, 6, 7 in der Explosionszeichnung
Produktnummer: 01030804

504,94 €*

Lieferzeit ca. 2-3 Wochen