Zum Hauptinhalt springen Zur Suche springen Zur Hauptnavigation springen
Kostenloser Versand ab € 349,- deutschlandweit
Servicepartner von über 50 Herstellern
Über 40.000 Ersatzteile im Sortiment
+10 Jahre Erfahrung

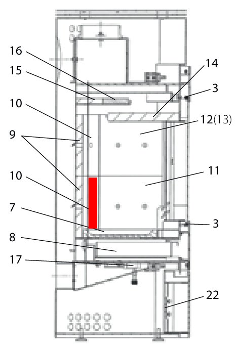
Wodtke Dance Seitenstein links hinten unten

Seitenstein /  Brennraumstein / Feuerraumstein / Kaminofenstein / Brennofenstein / Ofenstein / Holzofenstein

 

Produktinformationen "Wodtke Dance Seitenstein links hinten unten"

Original Seitenstein links hinten unten für den Kaminofen Wodtke Dance

Wodtke Dance Seitenstein links hinten unten Eckdaten:

  • Feuerraumstein, Kaminofenstein
  • Vermiculitestein
  • Maße (B/L/H) 230 mm x 84/110 mm x 25 mm
  • Material Vermiculite
  • Position 10 in der Explosionszeichnung
Eigenschaften "Wodtke Dance Seitenstein links hinten unten"
Hersteller: Wodtke
Material: Vermiculite
Modell: Dance
Ersatzteilart: Seitenstein

EU-Verantwortlicher

wodtke GmbH
Rittweg 55 - 57
D-72070 Tübingen-Hirschau
DE
info@wodtke.com

Ähnliche Artikel

Wodtke Dance Sichtscheibe
Original Sichtscheibe für den Kaminofen Wodtke Dance Wodtke Dance Sichtscheibe Eckdaten: Holzofenglas, Türglas Maße (B/L/H) 325 mm x 350 mm x 4 mm Material Glas Form flach hitzebeständig Position 2 in der Explosionszeichnung
Produktnummer: 01001114

1.436,32 €*¹

Lieferzeit ca. 2-3 Wochen

Wodtke Dance Ascherost
Original Ascherost für den Kaminofen Wodtke Dance KK99 Wodtke Dance KK99 Ascherost Eckdaten: Brennraumrost, Ofenrost Maße (B/L/H) 273 mm x 275 mm x 30 mm Material Guss Position 7 in der Explosionszeichnung
Produktnummer: 01001115

214,93 €*¹

Sofort verfügbar, Lieferzeit: 2-4 Tage

Wodtke Dance Zugumlenkung unten
Original Zugumlenkung unten für den Kaminofen Wodtke Dance Wodtke Dance Zugumlenkung unten Eckdaten: Rauchgasumlenkung, Rauchumlenkung Maße (B/L/H) 300 mm x 246 mm x 30 mm Material Vermiculite Position 14 in der Explosionszeichnung
Produktnummer: 01001123

331,65 €*¹

Lieferzeit ca. 2-3 Wochen

Wodtke Dance Türdichtung
Türdichtung für den Kaminofen Wodtke Dance Wir empfehlen einen Kleber für die Montage, der durch punktuelles Auftragen, unterstützend wirken kann. Auch empfehlen wir Dichtungsabbinder, damit die Dichtschnur-Enden nicht ausfransen. Als optisches Highlight bieten wir ebenfalls Dichtungshülsen an. Wodtke Dance Türdichtung Eckdaten: Dichtung, Holzofenschnur Kordeldichtung Länge 3,00 m Durchmesser 10 mm
Produktnummer: 01035597

45,21 €*¹

Sofort verfügbar, Lieferzeit: 2-4 Tage

Wodtke Dance Scheibendichtung
Scheibendichtung für den Kaminofen Wodtke Dance KK99 Wodtke Dance KK99 Scheibendichtung Eckdaten: Glasband, Holzofenschnur Flachdichtung Maße (B/H) 8 mm x 2 mm Länge 3,00 m selbstklebend
Produktnummer: 01036236

Inhalt: 3 Meter (9,52 €*¹ / 1 Meter)

28,56 €*¹

Sofort verfügbar, Lieferzeit: 2-4 Tage