Zum Hauptinhalt springen Zur Suche springen Zur Hauptnavigation springen
Kostenloser Versand ab € 349,- deutschlandweit
Servicepartner von über 50 Herstellern
Über 40.000 Ersatzteile im Sortiment
+10 Jahre Erfahrung

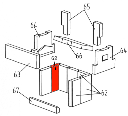
Wamsler Kamino 109-6 F/A Seitenstein links unten hinten

Seitenstein /  Brennraumstein / Feuerraumstein / Kaminofenstein / Brennofenstein / Ofenstein / Holzofenstein

 

Produktinformationen "Wamsler Kamino 109-6 F/A Seitenstein links unten hinten"

Original Seitenstein links unten hinten für den Werkstattofen Wamsler Kamino 109-6 F/A

Wamsler Kamino 109-6 F/A Seitenstein links unten hinten Eckdaten:

  • Ofenstein, Holzofenstein
  • Schamottstein
  • Maße (B/L/H) 134 mm x 240 mm x 35 mm
  • Material Schamotte
  • Position 62 in der Explosionszeichnung
Eigenschaften "Wamsler Kamino 109-6 F/A Seitenstein links unten hinten"
Hersteller: Wamsler
Material: Schamotte
Typ: 109-6 F/A
Modell: Kamino
Ersatzteilart: Seitenstein

Hersteller

Wamsler


DE

Ähnliche Artikel

Nur 3 auf Lager!
Wamsler Kamino 109-6 F/A Ascherost
Original Ascherost für den Kaminofen Wamsler Kamino 109-6 F/A Passend für 6 KW Geräte Wamsler Kamino 109-6 F/A Ascherost Eckdaten: Feuerrost, Brennofenrost Durchmesser 187 mm Stärke 13 mm Material Guss Form rund Farbe schwarz Rostlager ist nicht enthalten Position 47 in der Explosionszeichnung
Produktnummer: 01010755

60,23 €*¹

Sofort verfügbar, Lieferzeit: 2-4 Tage

Nur 5 auf Lager!
Wamsler Kamino 109-6 F/A Sichtscheibe
Original Sichtscheibe für den Werkstattofen Wamsler Kamino 109-6 F/A Es gibt verschiedene Modelle des Wamsler Wo 109. Bitte achten Sie auf die genaue Modellbezeichnung und die Maßangaben. Sichtscheibe für Heiztür Wamsler Kamino 109-6 F/A Sichtscheibe Eckdaten: Kaminglas, Glaskeramik Maße (B/L/H) 305 mm x 211 mm x 4 mm hitzebeständig
Produktnummer: 01011081

133,04 €*¹

Sofort verfügbar, Lieferzeit: 2-4 Tage

Wamsler Kamino 109-6 F/A Zugumlenkung unten
Original Zugumlenkung unten für den Kaminofen Wamsler Kamino 109-6 F/A Wamsler Kamino 109-6 F/A Zugumlenkung unten Eckdaten: Rauchgasumlenkung, Flammenschild Schamottstein Maße (B/L/H) 346 mm x 170 mm x 35 mm Material Schamotte Position 66 in der Explosionszeichnung
Produktnummer: 01012732

24,16 €*¹

Lieferzeit ca. 5-6 Wochen

Wamsler Kamino 109-6 F/A Türdichtung
Türdichtung für den Werkstattofen Wamsler Kamino 109-6 F/A Wamsler Kamino 109-6 F/A Türdichtung Eckdaten: Dichtung, Ofenschnur Kordeldichtung Länge 3,00 m Durchmesser 10 mm
Produktnummer: 01014342

Inhalt: 3 Meter (16,51 €*¹ / 1 Meter)

49,52 €*¹

Sofort verfügbar, Lieferzeit: 2-4 Tage

Wamsler Kamino 109-6 F/A Scheibendichtung
Scheibendichtung für den Werkstattofen Wamsler Kamino 109-6 F/A wir empfehlen, damit die Dichtungsenden nicht ausfransen, Abbinder für die Enden ! für das Einsetzen wird ein Kleber benötigt Wamsler Kamino 109-6 F/A Scheibendichtung Eckdaten: Glasdichtung, Dichtschnur Kordeldichtung Länge 3,00 m Durchmesser 6 mm
Produktnummer: 01014429

Inhalt: 3 Meter (13,56 €*¹ / 1 Meter)

40,67 €*¹

Sofort verfügbar, Lieferzeit: 2-4 Tage