Zum Hauptinhalt springen Zur Suche springen Zur Hauptnavigation springen
Kostenloser Versand ab € 349,- deutschlandweit
Servicepartner von über 50 Herstellern
Über 40.000 Ersatzteile im Sortiment
+10 Jahre Erfahrung

Techfire Toba Ascherost

Ascherost /  Rost / Kaminrost / Gussrost / Feuerrost / Brennraumrost / Rostgitter / Feuerraumrost / Ofenrost / Brennofenrost / Holzofenrost

 

Produktinformationen "Techfire Toba Ascherost"

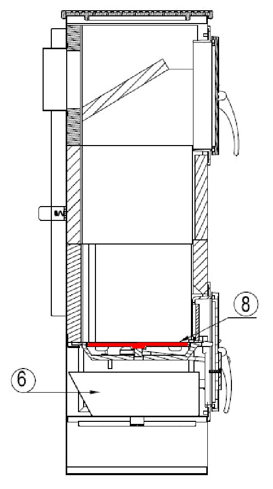
Original Ascherost für den Kaminofen Techfire Toba

Techfire Toba Ascherost Eckdaten:

  • Feuerrost, Holzofenrost
  • Maße (H) 30 mm
  • Durchmesser 195 mm
  • Material Guss
  • Position 8 in der Explosionszeichnung
Eigenschaften "Techfire Toba Ascherost"
Hersteller: Techfire
Material: Guss
Modell: Toba
Ersatzteilart: Ascherost

EU-Verantwortlicher

Techfire GmbH
ln Dürrfeldslach 11
66780 Rehlingen
DE
info@techfire.de

Ähnliche Artikel

Nur 7 auf Lager!
Höllenhunde Anzündhilfen 200
Höllenhunde Anzündhilfen 200 Cerberus "Höllenhunde" sind Anzündhilfen aus reinem Naturprodukt und ein perfekter Begleiter beim Anzünden Ihres Kaminofens oder Kamin. Höllenhunde Eckdaten: Inhalt 200 Stück Länge 50 bis 55 mm Durchmesser ca. 22 bis 30 mm Wachsanteil 40 bis 50 % Holzarten sind Fichte und Kiefer leichtes entzünden lange Brenndauer Herkunft aus Deutschland
Produktnummer: 01003904

Inhalt: 200 Stück (0,10 €* / 1 Stück)

20,99 €*

Sofort verfügbar, Lieferzeit: 2-4 Tage

Techfire Toba Türdichtung
Türdichtung für den Kaminofen Techfire Toba Wir empfehlen Dichtungsabbinder, durch die das Ausfransen der Enden verhindert wird. Auch bieten wir eine Dichtungshülse, um die Dichtschnurenden optimal miteinander zu verbinden. Techfire Toba Türdichtung Eckdaten: Dichtung, Holzofenschnur Kordeldichtung Länge 1,95 m Durchmesser 13 mm
Produktnummer: 01035190

Inhalt: 1.95 Meter (11,94 €* / 1 Meter)

23,29 €*

Sofort verfügbar, Lieferzeit: 2-4 Tage

Ausverkauft
Techfire Toba Feuerraumauskleidung
Original Feuerraumauskleidung für den Kaminofen Techfire Toba 9-teiliges Set Techfire Toba Feuerraumauskleidung Eckdaten: Feuerraumauskleidung, Brennraumsteine Material Keramik Vordersteine unten (237 x 104 x 25 mm), Vorderstein oben (248 x 164 x 25 mm) Seitenstein links unten (250 x 188 x 27 mm), Seitenstein links oben (250 x 188 x 27 mm) Seitenstein rechts unten (250 x 188 x 27 mm), Seitenstein rechts oben (250 x 188 x 27 mm) Rückwandstein unten (250 x 187 x 25 mm), Rückwandstein mittig (250 x 189 x 25 mm) Rückwandstein oben (250 x 190 x 25 mm)
Produktnummer: 01036871

220,82 €*

nur auf Anfrage erhältlich

Techfire Toba Zugumlenkung Set
Original Zugumlenkung Set für den Kaminofen Techfire Toba 5-teiliges Set Techfire Toba Zugumlenkung Eckdaten: Material Keramik Zugumlenkung links unten (250 x 20/170 x 25 mm), Zugumlenkung rechts unten (250 x 20/170 x 25 mm) Zugumlenkung mittig unten (206/260 x 190 x 25 mm) Zugumlenkung links oben (240 x 65/175 x 25 mm), Zugumlenkung rechts oben (240 x 65/175 x 25 mm)
Produktnummer: 01037142

117,33 €*

Lieferzeit ca. 2-3 Wochen