Zum Hauptinhalt springen Zur Suche springen Zur Hauptnavigation springen
Kostenloser Versand ab € 349,- deutschlandweit
Servicepartner von über 50 Herstellern
Über 40.000 Ersatzteile im Sortiment
+10 Jahre Erfahrung

Oranier Typ 4654-6 Seitenstein Set D

Seitenstein /  Brennraumstein / Feuerraumstein / Kaminofenstein / Brennofenstein / Ofenstein / Holzofenstein

 

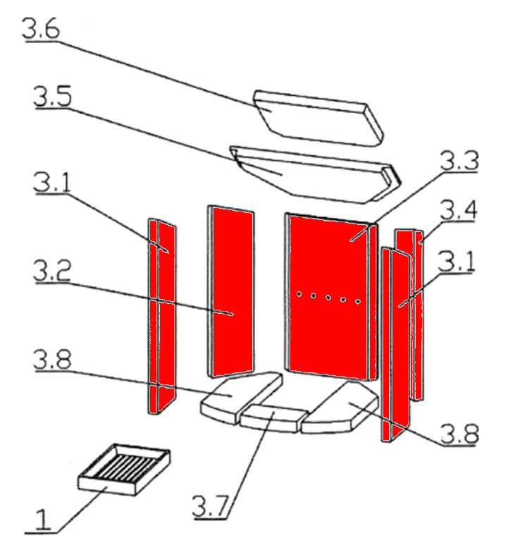
Produktinformationen "Oranier Typ 4654-6 Seitenstein Set D"

Original Seitenstein Set D für den Kaminofen Oranier Typ 4654-6

  • Es gibt verschiedene Ausmauerungen für dieses Modell. Bitte orientieren Sie sich an den Maßen der Brennraumsteine.
  • Erfahrungsgemäß wurden diese Feuerraumsteine im Brennraum verbaut, dessen markante Merkmale der Bodenstein vorne (152 x 95 x 30 mm) und der Seitenstein links vorne (121 x 455/520 x 25 mm) sind.
  • 5-teiliges Set

Oranier Typ 4654-6 Seitenstein Eckdaten:

  • 5 Stück
  • Seitenstein Set, seitliche Brennraumsteine Set
  • Material Vermiculite
  • Seitenstein links vorne (121 x 455/520 x 25 mm), Seitenstein links hinten (117 x 457 x 25 mm)
  • Seitenstein rechts vorne (121 x 455/520 x 25 mm), Seitenstein rechts hinten (117 x 457 x 25 mm)
  • gelochter Rückwandstein (218/250 x 414/407 x 25 mm)
  • Positionen 3.1, 3.2, 3.3, 3.4 in der Explosionszeichnung
Eigenschaften "Oranier Typ 4654-6 Seitenstein Set D"
Hersteller: Oranier
Material: Vermiculite
Modell: Typ 4654-6
Ersatzteilart: Seitenstein

EU-Verantwortlicher

Oranier Heiztechnik GmbH
Oranier Straße 1
35708 Haiger
DE
info@oranier.com

Hersteller

Oranier


DE

Ähnliche Artikel

Oranier Typ 4654-6 Ascherost
Original Ascherost für den Kaminofen Oranier Typ 4654-6 Oranier Typ 4654-6 Ascherost Eckdaten: Brennraumrost, Holzofenrost Maße (B/L/H) 254 mm x 154 mm x 30 mm Material Guss Position 1 in der Explosionszeichnung
Produktnummer: 01016217

71,68 €*¹

Sofort verfügbar, Lieferzeit: 2-4 Tage

Oranier Typ 4654-6 Feuerraumauskleidung D
Original Feuerraumauskleidung D für den Kaminofen Oranier Typ 4654-6 Es gibt verschiedene Ausmauerungen für dieses Modell. Bitte orientieren Sie sich an den Maßen der Brennraumsteine. Markantes Merkmal dieser Auskleidung ist der Bodenstein vorne (152 x 95 x 30 mm) und der Seitenstein links vorne (121 x 455/520 x 25 mm). 10-teiliges Set Oranier Typ 4654-6 Feuerraumauskleidung Eckdaten: Feuerraumauskleidung, Brennraumsteine Material Vermiculite Bodenstein vorne (152 x 95 x 30 mm) Bodenstein rechts (115 x 340 x 30 mm), Bodenstein links (115 x 340 x 30 mm) Seitenstein links vorne (121 x 455/520 x 25 mm), Seitenstein links hinten (117 x 457 x 25 mm) Seitenstein rechts vorne (121 x 455/520 x 25 mm), Seitenstein rechts hinten (117 x 457 x 25 mm) Rückwandstein gelocht (218/250 x 414/407 x 25 mm) Zugumlenkung unten (257/437 x 220 x 25 mm), Zugumlenkung oben (302 x 205 x 25 mm)
Produktnummer: 01020420

327,06 €*¹

Lieferzeit ca. 2-3 Wochen