Zum Hauptinhalt springen Zur Suche springen Zur Hauptnavigation springen
Kostenloser Versand ab € 349,- deutschlandweit
Servicepartner von über 50 Herstellern
Über 40.000 Ersatzteile im Sortiment
+10 Jahre Erfahrung

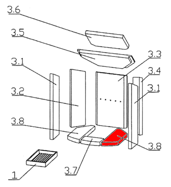
Oranier Polar 6 Bodenstein rechts A

Bodenstein /  Brennraumstein / Feuerraumstein

 

Produktinformationen "Oranier Polar 6 Bodenstein rechts A"

Original Bodenstein rechts A für den Kaminofen Oranier Polar 6 Typ 4654-6

  • Es gibt verschiedene Ausmauerungen für dieses Modell. Bitte orientieren Sie sich an den Maßen der Brennraumsteine.
  • Erfahrungsgemäß wurde dieser Feuerraumstein im Brennraum verbaut, dessen markante Merkmale der Bodenstein vorne (152 x 95 x 30 mm) und der Seitenstein links vorne (131 x 455/520 x 25 mm) sind.

Oranier Polar 6 Typ 4654-6 Bodenstein rechts Eckdaten:

  • Brennraumstein, Feuerraumstein
  • Maße (B/L/H) 115 mm x 340 mm x 30 mm
  • Material Skamol
  • Position 3.8 in der Explosionszeichnung
Eigenschaften "Oranier Polar 6 Bodenstein rechts A"
Hersteller: Oranier
Material: Skamol
Typ: 6
Typ 2: Typ 4654-6
Modell: Polar
Ersatzteilart: Bodenstein

EU-Verantwortlicher

Oranier Heiztechnik GmbH
Oranier Straße 1
35708 Haiger
DE
info@oranier.com

Hersteller

Oranier


DE

Ähnliche Artikel

Oranier Polar 6 Zugumlenkung oben A
Original Zugumlenkung oben A für den Kaminofen Oranier Polar 6 Es gibt verschiedene Ausmauerungen für dieses Modell. Bitte orientieren Sie sich an den Maßen der Brennraumsteine. Erfahrungsgemäß wurde dieser Feuerraumstein im Brennraum verbaut, dessen markante Merkmale der Bodenstein vorne (152 x 95 x 30 mm) und der Seitenstein links vorne (131 x 455/520 x 25 mm) sind. Oranier Polar 6 Zugumlenkung oben Eckdaten: Rauchgasumlenkung, Umlenkung Maße (B/L/H) 302 mm x 205 mm x 25 mm Material Skamol Position 3.6 in der Explosionszeichnung
Produktnummer: 01016300

33,53 €*¹

Sofort verfügbar, Lieferzeit: 2-4 Tage

Oranier Polar 6 Zugumlenkung unten A
Original Zugumlenkung unten A für den Kaminofen Oranier Polar 6 Es gibt verschiedene Ausmauerungen für dieses Modell. Bitte orientieren Sie sich an den Maßen der Brennraumsteine. Erfahrungsgemäß wurde dieser Feuerraumstein im Brennraum verbaut, dessen markante Merkmale der Bodenstein vorne (152 x 95 x 30 mm) und der Seitenstein links vorne (131 x 455/520 x 25 mm) sind. Oranier Polar 6 Zugumlenkung unten Eckdaten: Rauchumlenkung, Umlenkung Maße (B/L/H) 437 mm x 220 mm x 25 mm Material Skamol Position 3.5 in der Explosionszeichnung
Produktnummer: 01016357

50,86 €*¹

Sofort verfügbar, Lieferzeit: 2-4 Tage

Oranier Polar 6 Ascherost
Original Ascherost für den Kaminofen Oranier Polar 6 Oranier Polar 6 Ascherost Eckdaten: Rostgitter, Feuerraumrost Maße (B/L/H) 254 mm x 154 mm x 30 mm Material Guss Position 1 in der Explosionszeichnung
Produktnummer: 01016568

71,68 €*¹

Sofort verfügbar, Lieferzeit: 2-4 Tage

Oranier Polar 6 Türdichtung Set A
Türdichtung Set A für den Kaminofen Oranier Polar 6 passend für das Modell mit der Einpunktverriegelung (Tür schließt an einem Punkte am Korpus) Ebenfalls passend für den Polar 6 II Calanda 7-teiliges Set Oranier Polar 6 Türdichtung Eckdaten: Dichtband, Dichtschnur Kordeldichtung Länge 3m Durchmesser 10mm Kleber Eckdaten: 1 Stück Inhalt 17ml hitzebeständig Dichtungshülse Eckdaten: 1 Stück Durchmesser 10mm Dichtungsabbinder 4 Streifen
Produktnummer: 01018163

39,50 €*¹

Sofort verfügbar, Lieferzeit: 2-4 Tage

Nur 4 auf Lager!
Oranier Polar 6 Feuerraumauskleidung A
Original Feuerraumauskleidung A für den Kaminofen Oranier Polar 6 Es gibt verschiedene Ausmauerungen für dieses Modell. Bitte orientieren Sie sich an den Maßen der Brennraumsteine. Erfahrungsgemäß wurde dieser Feuerraumstein im Brennraum verbaut, dessen markante Merkmale der Bodenstein vorne (152 x 95 x 30 mm) und der Seitenstein links vorne (131 x 455/520 x 25 mm) sind. 10-teiliges Set Oranier Polar 6 Feuerraumauskleidung Eckdaten: Feuerraumauskleidung, Brennraumsteine Material Vermiculite Bodenstein vorne (152 x 95 x 30 mm) Bodenstein rechts (115 x 340 x 30 mm), Bodenstein links (115 x 340 x 30 mm) Seitenstein links vorne (131 x 519 x 25 mm), Seitenstein links hinten (117 x 457 x 25 mm) Seitenstein rechts vorne (131 x 519 x 25 mm), Seitenstein rechts hinten (117 x 457 x 25 mm) Zugumlenkung unten (257/437 x 220 x 25 mm), Zugumlenkung oben (302 x 205 x 25 mm) Rückwandstein gelocht (218/250 x 414/407 x 25 mm)
Produktnummer: 01021371

327,06 €*¹

Sofort verfügbar, Lieferzeit: 2-4 Tage

Nur 7 auf Lager!
Oranier Polar 6 Scheibendichtung Set A
Original Scheibendichtung Set A für den Kaminofen Oranier Polar 6 Typ 4654-6 Es gibt verschiedene Scheibendichtungen für dieses Modell. Bitte orientieren Sie sich an der Art Ihrer Scheibenhalter. (Schienen oder Klammern) Dieses Set beinhaltet Scheibenhalter-Klammern. 23-teiliges Set Oranier Polar 6 Typ 4654-6 Scheibendichtung Eckdaten: 23-teilig Hohlkordeldichtung wird links, rechts, unten montiert Durchmesser 6 mm Länge 2 m selbstklebend Lippendichtung wird oben montiert Länge 1 m selbstklebend Kleber 17 ml, Tube hitzebeständig Abbinder für die Dichtungsenden 2 Streifen Rutschsicherung für die Sichtscheibe (U-Blech) 6 Stück Messingmutter 6 Stück Scheibenhalter / Klammer (gelochter Winkel) 6 Stück Die Scheibendichtung sorgt dafür, dass die Sichtscheibe optimal am Ofenkorpus und an den Glashaltern anliegt, so dass das Türglas ausreichend Dehnungsmöglichkeit hat.
Produktnummer: 01023590

80,34 €*¹

Sofort verfügbar, Lieferzeit: 2-4 Tage