Zum Hauptinhalt springen Zur Suche springen Zur Hauptnavigation springen
Kostenloser Versand ab € 349,- deutschlandweit
Servicepartner von über 50 Herstellern
Über 40.000 Ersatzteile im Sortiment
+10 Jahre Erfahrung

Oranier Polar 6 Eck Bodenstein rechts D

Bodenstein /  Brennraumstein / Feuerraumstein

 

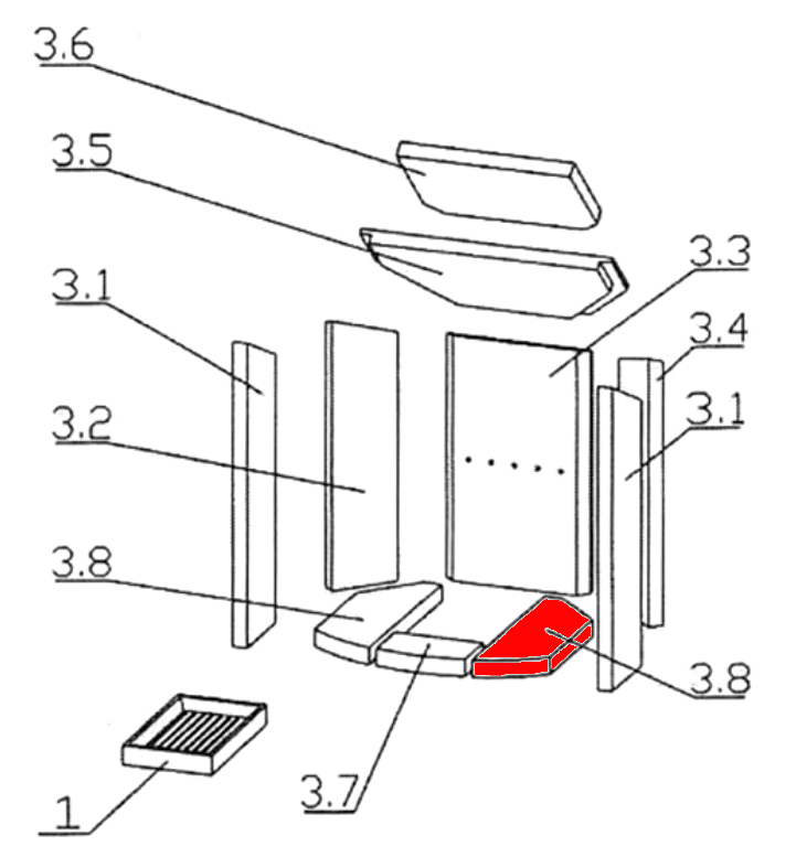
Produktinformationen "Oranier Polar 6 Eck Bodenstein rechts D"

Original Bodenstein rechts D für den Kaminofen Oranier Polar 6 Eck Typ 4656-6

  • Es gibt verschiedene Ausmauerungen für dieses Modell. Bitte orientieren Sie sich an den Maßen der Brennraumsteine.
  • Erfahrungsgemäß wurde dieser Feuerraumstein im Brennraum verbaut, dessen markante Merkmale der Bodenstein vorne (152 x 95 x 30 mm) und der Seitenstein links vorne (121 x 455/520 x 25 mm) sind.

Oranier Polar 6 Eck Typ 4656-6 Bodenstein rechts Eckdaten:

  • Brennraumstein, Feuerraumstein
  • Maße (B/L/H) 115 mm x 340 mm x 30 mm
  • Material Skamol
  • Position 3.8 in der Explosionszeichnung
Eigenschaften "Oranier Polar 6 Eck Bodenstein rechts D"
Hersteller: Oranier
Material: Skamol
Typ: 6 Eck
Typ 2: Typ 4656-6
Modell: Polar
Ersatzteilart: Bodenstein

EU-Verantwortlicher

Oranier Heiztechnik GmbH
Oranier Straße 1
35708 Haiger
DE
info@oranier.com

Hersteller

Oranier


DE

Ähnliche Artikel

Oranier Polar 6 Eck Ascherost
Original Ascherost für den Kaminofen Oranier Polar 6 Eck Oranier Polar 6 Eck Ascherost Eckdaten: Brennraumrost, Holzofenrost Maße (B/L/H) 254 mm x 154 mm x 30 mm Material Guss Form flach
Produktnummer: 01016197

71,68 €*¹

Sofort verfügbar, Lieferzeit: 2-4 Tage

Oranier Polar 6 Eck Zugumlenkung oben D
Original Zugumlenkung oben D für den Kaminofen Oranier Polar 6 Eck Es gibt verschiedene Ausmauerungen für dieses Modell. Bitte orientieren Sie sich an den Maßen der Brennraumsteine. Erfahrungsgemäß wurde dieser Feuerraumstein im Brennraum verbaut, dessen markante Merkmale der Bodenstein vorne (152 x 95 x 30 mm) und der Seitenstein links vorne (121 x 455/520 x 25 mm) sind. Oranier Polar 6 Eck Zugumlenkung oben Eckdaten: Prallplatte, Rauchumlenkung Maße (B/H) 25 mm x 205 mm Länge 3,02 m Material Skamol Position 3.6 in der Explosionszeichnung
Produktnummer: 01016298

33,53 €*¹

Sofort verfügbar, Lieferzeit: 2-4 Tage

Oranier Polar 6 Eck Zugumlenkung unten D
Original Zugumlenkung unten D für den Kaminofen Oranier Polar 6 Eck Es gibt verschiedene Ausmauerungen für dieses Modell. Bitte orientieren Sie sich an den Maßen der Brennraumsteine. Erfahrungsgemäß wurde dieser Feuerraumstein im Brennraum verbaut, dessen markante Merkmale der Bodenstein vorne (152 x 95 x 30 mm) und der Seitenstein links vorne (121 x 455/520 x 25 mm) sind. Oranier Polar 6 Eck Zugumlenkung unten Eckdaten: Rauchgasumlenkung, Flammenschild Maße (B/L/H) 437 mm x 220 mm x 25 mm Material Skamol Position 3.5 in der Explosionszeichnung
Produktnummer: 01016354

50,86 €*¹

Sofort verfügbar, Lieferzeit: 2-4 Tage

Nur 4 auf Lager!
Oranier Polar 6 Eck Feuerraumauskleidung D
Original Feuerraumauskleidung D für den Kaminofen Oranier Polar 6 Eck Typ 4656-6 Es gibt verschiedene Ausmauerungen für dieses Modell. Bitte orientieren Sie sich an den Maßen der Brennraumsteine. Erfahrungsgemäß wurde dieser Feuerraumstein im Brennraum verbaut, dessen markante Merkmale der Bodenstein vorne (152 x 95 x 30 mm) und der Seitenstein links vorne (121 x 455/520 x 25 mm) sind. 10-teiliges Set Oranier Polar 6 Eck Typ 4656-6 Feuerraumauskleidung Eckdaten: Feuerraumauskleidung, Brennraumsteine Material Vermiculite Bodenstein vorne (152 x 95 x 30 mm) Bodenstein rechts (115 x 340 x 30 mm), Bodenstein links (115 x 340 x 30 mm) Seitenstein links vorne (121 x 455/520 x 25 mm), Seitenstein links hinten (117 x 457 x 25 mm) Seitenstein rechts vorne (121 x 455/520 x 25 mm), Seitenstein rechts hinten (117 x 457 x 25 mm) Rückwandstein gelocht (218/250 x 414/407 x 25 mm) Zugumlenkung unten (257/437 x 220 x 25 mm), Zugumlenkung oben (302 x 205 x 25 mm)
Produktnummer: 01019806

327,06 €*¹

Sofort verfügbar, Lieferzeit: 2-4 Tage