Zum Hauptinhalt springen Zur Suche springen Zur Hauptnavigation springen
Kostenloser Versand ab € 349,- deutschlandweit
Servicepartner von über 50 Herstellern
Über 40.000 Ersatzteile im Sortiment
+10 Jahre Erfahrung

Oranier Nordik Aschekasten A

Aschekasten /  Aschelade / Ascheschublade / Aschebox / Aschetresor / Auffangbehälter

 

Produktinformationen "Oranier Nordik Aschekasten A"

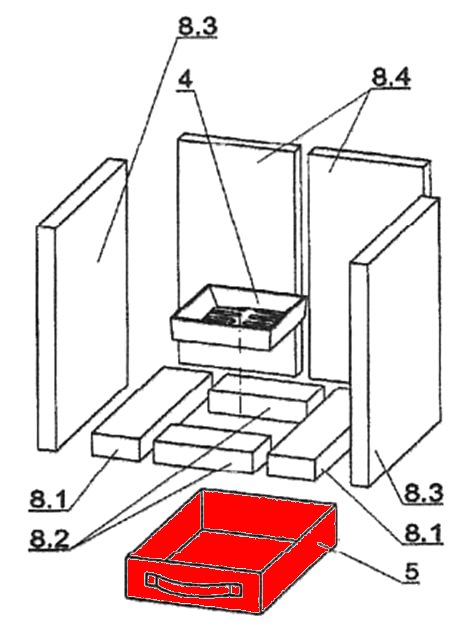
Original Aschekasten A für den Kaminofen Oranier Nordik Typ 4621-5 Serie I

  • Erfahrungsgemäß passt dieser Aschekasten für Typ 4621-5 Serie 1.

Oranier Nordik Typ 4621-5 Serie I Aschekasten Eckdaten:

  • Ascheschublade, Aschetresor
  • Maße (B/L/H) 185 mm x 280 mm x 55 mm
  • Farbe grau
  • Position 5 in der Explosionszeichnung
Eigenschaften "Oranier Nordik Aschekasten A"
Farbe: grau
Hersteller: Oranier
Typ 2: Typ 4621-5 Serie I
Modell: Nordik
Ersatzteilart: Aschekasten

EU-Verantwortlicher

Oranier Heiztechnik GmbH
Oranier Straße 1
35708 Haiger
DE
info@oranier.com

Hersteller

Oranier


DE

Ähnliche Artikel

Ausverkauft
Oranier Nordik Sichtscheibe A
Original Sichtscheibe A für den Kaminofen Oranier Nordik Der Hersteller hat die Produktion dieses Artikels eingestellt. Sofern wir über einen Restbestand verfügen, ist dieses Ersatzteil bei uns erhältlich Es gibt verschiedene Sichtscheiben für dieses Modell. Bitte orientieren Sie sich an Typ und Serie Ihres Modells. Erfahrungsgemäß passt diese Glasscheibe für Typ 4621-5 Serie 1. Oranier Nordik Sichtscheibe Eckdaten: Ofenglas, Schauglas Maße (B/L/H) 267 mm x 290 mm x 4 mm Material Glas Form rechteckig hitzebeständig Position 2.1 in der Explosionszeichnung
Produktnummer: 01000330

120,59 €*

nicht mehr verfügbar, Produktion eingestellt

Oranier Nordik Ascherost A
Original Ascherost A für den Kaminofen Oranier Nordik Typ 4621-5 Serie 1 Erfahrungsgemäß passt dieser Ascherost für Typ 4621-5 Serie 1 Oranier Nordik Typ 4621-5 Serie 1 Ascherost Eckdaten: Rost, Holzofenrost Maße (B/L/H) 135 mm x 135 mm x 30 mm Material Guss Position 4 in der Explosionszeichnung
Produktnummer: 01016617

44,64 €*

Sofort verfügbar, Lieferzeit: 2-4 Tage

Oranier Nordik Scheibendichtung A
Scheibendichtung A für den Kaminofen Oranier Nordik Typ 4621-5 Serie I Erfahrungsgemäß passt diese Dichtschnur für Typ 4621-5 Serie 1. Oranier Nordik Typ 4621-5 Serie I Scheibendichtung Eckdaten: Dichtschnur, Ofenschnur Maße (B/H) 2 mm x 10 mm Länge 2,00 m selbstklebend
Produktnummer: 01018435

Inhalt: 2 Meter (11,31 €* / 1 Meter)

22,61 €*

Sofort verfügbar, Lieferzeit: 2-4 Tage

Oranier Nordik Türdichtung A
Türdichtung A für den Kaminofen Oranier Nordik Typ 4621-5 Serie II Es gibt verschiedene Türdichtungen für dieses Modell. Bitte orientieren Sie sich an Typ und Serie Ihres Modells und an der Form der Schnur. Erfahrungsgemäß passt diese Flachkordel für Typ 4621-5 Serie 2. Wir empfehlen einen Kleber und zusätzlich Dichtungsabbinder, die das Ausfransen der Enden verhindern. Oranier Nordik Typ 4621-5 Serie II Türdichtung Eckdaten: Dichtschnur, Ofenschnur Kordeldichtung Maße (B/H) 10 mm x 6 mm Länge 3,00 m
Produktnummer: 01018819

Inhalt: 3 Meter (8,58 €* / 1 Meter)

25,74 €*

Sofort verfügbar, Lieferzeit: 2-4 Tage

Nur 1 auf Lager!
Oranier Nordik Feuerraumauskleidung A
Original Feuerraumauskleidung A für den Kaminofen Oranier Nordik Typ 4621-5 Serie 1 Es gibt verschiedene Ausmauerungen für dieses Modell. Bitte orientieren Sie sich an Typ und Serie Ihres Modells. Erfahrungsgemäß passen diese Feuerraumsteine für Typ 4621-5 Serie 1. 8-teiliges Set Oranier Nordik Typ 4621-5 Serie 1 Feuerraumauskleidung Eckdaten: Material Vermiculite Bodenstein vorne (135 x 66 x 30 mm), Bodenstein hinten(135 x 66 x 30 mm) Bodenstein links (66 x 267 x 30 mm), Bodenstein rechts (66 x 267 x 30 mm) Seitenstein links (267 x 300 x 25 mm), Seitenstein rechts (267 x 300 x 25 mm) Rückwandstein links (160 x 300 x 25 mm), Rückwandstein rechts (160 x 300 x 25 mm) Positionen8.1, 8.2, 8.3, 8.4 in der Explosionszeichnung
Produktnummer: 01018833

120,59 €*

Sofort verfügbar, Lieferzeit: 2-4 Tage