Zum Hauptinhalt springen Zur Suche springen Zur Hauptnavigation springen
Kostenloser Versand ab € 349,- deutschlandweit
Servicepartner von über 50 Herstellern
Über 40.000 Ersatzteile im Sortiment
+10 Jahre Erfahrung

Oranier Kopenhagen Rückwandstein links A

Rückwandstein /  Brennraumstein / Feuerraumstein

 

Produktinformationen "Oranier Kopenhagen Rückwandstein links A"

Original Rückwandstein links A für den Kaminofen Oranier Kopenhagen

  • Der Hersteller hat die Produktion dieses Artikels eingestellt. Sofern wir über einen Restbestand verfügen, ist dieses Ersatzteil bei uns erhältlich
  • Markantes Merkmal dieser Auskleidung ist die Höhe der stehenden Brennraumsteine (250 mm)
  • Passend für Modelle mit Baujahr von 9/1998 bis 4/2000

Oranier Kopenhagen Rückwandstein links Eckdaten:

  • Brennraumstein, Feuerraumstein
  • Maße (B/L/H) 235 mm x 250 mm x 25 mm
  • Material Schamotte
  • Form rechteckig
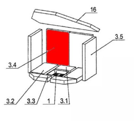
  • Position 3.4 in der Explosionszeichnung
Eigenschaften "Oranier Kopenhagen Rückwandstein links A"
Form: rechteckig
Hersteller: Oranier
Material: Schamotte
Modell: Kopenhagen
Ersatzteilart: Rückwandstein

EU-Verantwortlicher

Oranier Heiztechnik GmbH
Oranier Straße 1
35708 Haiger
DE
info@oranier.com

Hersteller

Oranier


DE

Ähnliche Artikel

Ausverkauft
Oranier Kopenhagen Sichtscheibe links A
Original Sichtscheibe links A für den Kaminofen Oranier Kopenhagen Der Hersteller hat die Produktion dieses Artikels eingestellt. Sofern wir über einen Restbestand verfügen, ist dieses Ersatzteil bei uns erhältlich Für dieses Modell gibt es unterschiedliche Sichtscheiben Bitte gleichen Sie die Maße ab Oranier Kopenhagen Sichtscheibe links Eckdaten: Holzofenglas, Glas Maße (B/L/H) 115/142 mm x 300 mm x 4 mm Material Glas Form abgewinkelt hitzebeständig 45° Winkel
Produktnummer: 01000123

158,45 €*¹

nicht mehr verfügbar, Produktion eingestellt

Nur 1 auf Lager!
Oranier Kopenhagen Zugumlenkung A
Original Zugumlenkung A für den Kaminofen Oranier Kopenhagen Es gibt mehrere Feuerraumauskleidungen für den Oranier Kopenhagen. Bitte orientieren Sie sich an den Maßen der Brennraumsteine. passend für Modelle mit dem Baujahr von 09/1998 bis 04/2000 Oranier Kopenhagen Zugumlenkung Eckdaten: Rauchumlenkung, Flammenschild Maße (B/L/H) 350 mm x 225 mm x 25 mm Material Vermiculite Position 16 in der Explosionszeichnung
Produktnummer: 01001641

27,63 €*¹

Sofort verfügbar, Lieferzeit: 2-4 Tage

Ausverkauft
Oranier Kopenhagen Sichtscheibe rechts A
Original Sichtscheibe rechts A für den Kaminofen Oranier Kopenhagen Der Hersteller hat die Produktion dieses Artikels eingestellt. Sofern wir über einen Restbestand verfügen, ist dieses Ersatzteil bei uns erhältlich Für dieses Modell gibt es unterschiedliche Sichtscheiben Bitte gleichen Sie die Maße ab Oranier Kopenhagen Sichtscheibe rechts Eckdaten: Glaskeramik, Schauglas Maße (B/L/H) 115/142 mm x 300 mm x 4 mm Material Glas Form abgewinkelt hitzebeständig 45° Winkel
Produktnummer: 01016490

158,45 €*¹

nicht mehr verfügbar, Produktion eingestellt

Nur 9 auf Lager!
Oranier Kopenhagen Ascherost
Original Ascherost für den Kaminofen Oranier Kopenhagen Oranier Kopenhagen Ascherost Eckdaten: Ofenrost, Holzofenrost Maße (B/L/H) 135 mm x 135 mm x 30 mm Material Guss
Produktnummer: 01016603

44,64 €*¹

Sofort verfügbar, Lieferzeit: 2-4 Tage

Ausverkauft
Oranier Kopenhagen Feuerraumauskleidung A
Original Feuerraumauskleidung A für den Kaminofen Oranier Kopenhagen Der Hersteller hat die Produktion dieses Artikels eingestellt. Sofern wir über einen Restbestand verfügen, ist dieses Ersatzteil bei uns erhältlich passend für Modelle mit Baujahr von 9/1998 bis 4/2000 markantes Merkmal dieser Auskleidung ist die Höhe der stehenden Brennraumsteine (250 mm) 9-teiliges Set Oranier Kopenhagen Feuerraumauskleidung Eckdaten: Oranier Kopenhagen Feuerraumsteine Eckdaten: 9 Stück Feuerraumauskleidung, Brennraumsteine Material Schamotte  Bodenstein vorne links (110/225 x 115 x 30 mm), Bodenstein vorne rechts (110/225 x 115 x 30 mm) Bodenstein links (167 x 220 x 30 mm), Bodenstein rechts (167 x 220 x 30 mm) Bodenstein hinten (135 x 85 x 30 mm) Seitenstein links (220 x 250 x 25 mm), Seitenstein rechts (220 x 250 x 25 mm) Rückwandstein links (235 x 250 x 25 mm), Rückwandstein rechts (235 x 250 x 25 mm) ohne Zugumlenkung
Produktnummer: 01019884

231,67 €*¹

nicht mehr verfügbar, Produktion eingestellt