Zum Hauptinhalt springen Zur Suche springen Zur Hauptnavigation springen
Kostenloser Versand ab € 349,- deutschlandweit
Servicepartner von über 50 Herstellern
Über 40.000 Ersatzteile im Sortiment
+10 Jahre Erfahrung

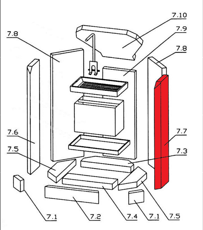
Oranier KE 706 Prisma Seitenstein rechts vorne

Seitenstein /  Brennraumstein / Feuerraumstein / Kaminofenstein / Brennofenstein / Ofenstein / Holzofenstein

 

Produktinformationen "Oranier KE 706 Prisma Seitenstein rechts vorne"

Original Seitenstein rechts vorne für den Kamineinsatz Oranier KE 706 Prisma

Oranier KE 706 Prisma Seitenstein rechts vorne Eckdaten:

  • Feuerraumstein, Ofenstein
  • Vermiculitesteine
  • Maße (B/L/H) 135 mm x 565 mm x 25 mm
  • Material Vermiculite
  • Position 7.7 in der Explosionszeichnung
Eigenschaften "Oranier KE 706 Prisma Seitenstein rechts vorne"
Hersteller: Oranier
Material: Vermiculite
Typ: 706 Prisma
Modell: KE
Ersatzteilart: Seitenstein

EU-Verantwortlicher

Oranier Heiztechnik GmbH
Oranier Straße 1
35708 Haiger
DE
info@oranier.com

Hersteller

Oranier


DE

Ähnliche Artikel

Nur 4 auf Lager!
Oranier KE 706 Prisma Zugumlenkung
Original Zugumlenkung für den Kamineinsatz Oranier KE 706 Prisma Oranier KE 706 Prisma Zugumlenkung Eckdaten: Umlenkung, Flammenschild Maße (B/L/H) 295 mm x 350 mm x 25 mm Material Vermiculite Position 7.10 in der Explosionszeichnung
Produktnummer: 01007752

50,86 €*¹

Sofort verfügbar, Lieferzeit: 2-4 Tage

Oranier KE 706 Prisma Ascherost
Original Ascherost für den Kamineinsatz Oranier KE 706 Prisma Oranier KE 706 Prisma Ascherost Eckdaten: Kaminrost, Feuerrost Maße (B/L/H) 254 mm x 154 mm x 30 mm Material Guss hitzebeständig Position 10 in der Explosionszeichnung
Produktnummer: 01016187

71,68 €*¹

Sofort verfügbar, Lieferzeit: 2-4 Tage

Oranier KE 706 Prisma Sichtscheibe
Original Sichtscheibe für den Kamineinsatz Oranier KE 706 Prisma Oranier KE 706 Prisma Sichtscheibe Eckdaten: Glasscheibe, Scheibe Maße (B/L/H) 325 mm x 500 mm x 4 mm Material Glas Form prismatisch hitzebeständig
Produktnummer: 01017879

438,05 €*¹

Lieferzeit ca. 2-3 Wochen

Ausverkauft
Oranier KE 706 Prisma Türdichtung
Original Türdichtung für den Kamineinsatz Oranier KE 706 Prisma Oranier KE 706 Prisma Türdichtung Eckdaten: Ofenschnur, Holzofenschnur Länge 3,00 m Durchmesser 12 mm
Produktnummer: 01017955

Inhalt: 3 Meter (9,23 €*¹ / 1 Meter)

27,69 €*¹

nur auf Anfrage erhältlich

Nur 1 auf Lager!
Oranier KE 706 Prisma Feuerraumauskleidung
Original Feuerraumauskleidung für den Kamineinsatz Oranier KE 706 Prisma 13-teiliges Set Oranier KE 706 Prisma Feuerraumauskleidung Eckdaten: Oranier KE 706 Prisma Feuerraumsteine Eckdaten: 13 Stück Feuerraumauskleidung, Brennraumsteine Material Vermiculite  Vorderstein mittig (290 x 54 x 25 mm) Vorderstein links (85/71 x 55 x 25 mm), Vorderstein rechts (85/71 x 55 x 25 mm) Bodenstein vorne (270 x 78 x 30 mm), Bodenstein hinten (270 x 89 x 30 mm) Bodenstein links (285 x 76 x 30 mm), Bodenstein rechts (285 x 76 x 30 mm)  Rückwandstein (469 x 172 x 26 mm) Seitenstein links vorne (567 x 135 x 25 mm), Seitenstein rechts vorne (565 x 135 x 25 mm) Seitenstein links hinten (568 x 176 x  25 mm), Seitenstein rechts hinten (568 x 176 x 25 mm) Zugumlenkung (352 x 295 x 26 mm)
Produktnummer: 01019902

313,41 €*¹

Sofort verfügbar, Lieferzeit: 2-4 Tage