Zum Hauptinhalt springen Zur Suche springen Zur Hauptnavigation springen
Kostenloser Versand ab € 349,- deutschlandweit
Servicepartner von über 50 Herstellern
Über 40.000 Ersatzteile im Sortiment
+10 Jahre Erfahrung

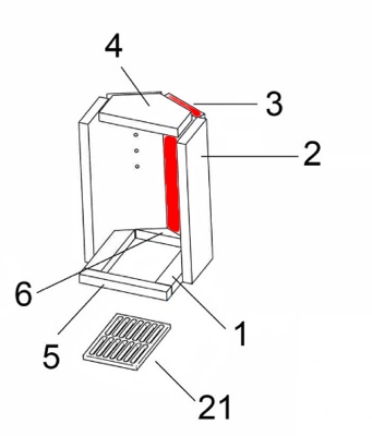
Oranier Artemis 3 Rückwandstein rechts

Rückwandstein /  Brennraumstein / Feuerraumstein

 

Produktinformationen "Oranier Artemis 3 Rückwandstein rechts"

Original Rückwandstein rechts für den Kaminofen Oranier Artemis 3

  • Der Hersteller hat die Produktion dieser Steine von Schamotte auf Vermiculite umgestellt.

Oranier Artemis 3 Rückwandstein rechts Eckdaten:

  • Brennraumstein, Feuerraumstein
  • Maße (B/L/H) 490 mm x 160 mm x 30 mm
  • Material Vermiculite
  • Position 3 in der Explosionszeichnung
Eigenschaften "Oranier Artemis 3 Rückwandstein rechts"
Hersteller: Oranier
Material: Vermiculite
Typ: 3
Modell: Artemis
Ersatzteilart: Rückwandstein

EU-Verantwortlicher

Oranier Heiztechnik GmbH
Oranier Straße 1
35708 Haiger
DE
info@oranier.com

Hersteller

Oranier


DE

Ähnliche Artikel

Oranier Artemis 3 Ascherost
Original Ascherost für den Kaminofen Oranier Artemis 3 Oranier Artemis 3 Ascherost Eckdaten: Kaminrost, Brennofenrost Maße (B/L/H) 245 mm x 15 mm x 172 mm Material Guss
Produktnummer: 01000078

80,34 €*¹

Lieferzeit ca. 2-3 Wochen

Oranier Artemis 3 Sichtscheibe
Original Sichtscheibe für den Kaminofen Oranier Artemis 3 Oranier Artemis 3 Sichtscheibe Eckdaten: Kaminglas, Türglas Material Glas Form gebogen hitzebeständig Position 33 in der Explosionszeichnung
Produktnummer: 01000086

685,09 €*¹

Lieferzeit ca. 2-3 Wochen

Oranier Artemis 3 Türdichtung
Türdichtung für den Kaminofen Oranier Artemis 3 Oranier Artemis 3 Türdichtung Eckdaten: Türband, Holzofenschnur Lippendichtung Maße (B/H) 18 mm x 8 mm Länge 3,00 m selbstklebend
Produktnummer: 01019181

Inhalt: 3 Meter (10,67 €*¹ / 1 Meter)

32,00 €*¹

Sofort verfügbar, Lieferzeit: 2-4 Tage

Oranier Artemis 3 Feuerraumauskleidung
Original Feuerraumauskleidung für den Kaminofen Oranier Artemis 3 Der Hersteller hat die Produktion dieser Steine von Schamotte auf Vermiculite umgestellt. 9-teiliges Set Oranier Artemis 3 Feuerraumauskleidung Eckdaten: Oranier Artemis 3 Feuerraumsteine Eckdaten: Feuerraumauskleidung, Brennraumsteine Material Vermiculite Bodenstein links (216/237 x 45 x 30 mm), Bodenstein rechts (216/237 x 45 x 30 mm) Bodenstein vorne (270 x 35 x 30 mm), Bodenstein hinten (182 x 42 x 30 mm) Seitenstein links (485 x 150 x 30 mm), Seitenstein rechts (485 x 150 x 30 mm) Rückwandstein links (160 x 490 x 30 mm), Rückwandstein rechts (160 x 490 x 30 mm) Zugumlenkung (250 x 160 x 30 mm)
Produktnummer: 01019193

400,04 €*¹

Lieferzeit ca. 2-3 Wochen

Oranier Artemis 3 Scheibendichtung
Scheibendichtung für den Kaminofen Oranier Artemis 3 Oranier Artemis 3 Scheibendichtung Eckdaten: Glasdichtung, Holzofenschnur Hohlkordeldichtung Länge 3,00 m Durchmesser 8 mm selbstklebend
Produktnummer: 01019871

Inhalt: 3 Meter (9,85 €*¹ / 1 Meter)

29,56 €*¹

Sofort verfügbar, Lieferzeit: 2-4 Tage