Zum Hauptinhalt springen Zur Suche springen Zur Hauptnavigation springen
Kostenloser Versand ab € 349,- deutschlandweit
Servicepartner von über 50 Herstellern
Über 40.000 Ersatzteile im Sortiment
+10 Jahre Erfahrung

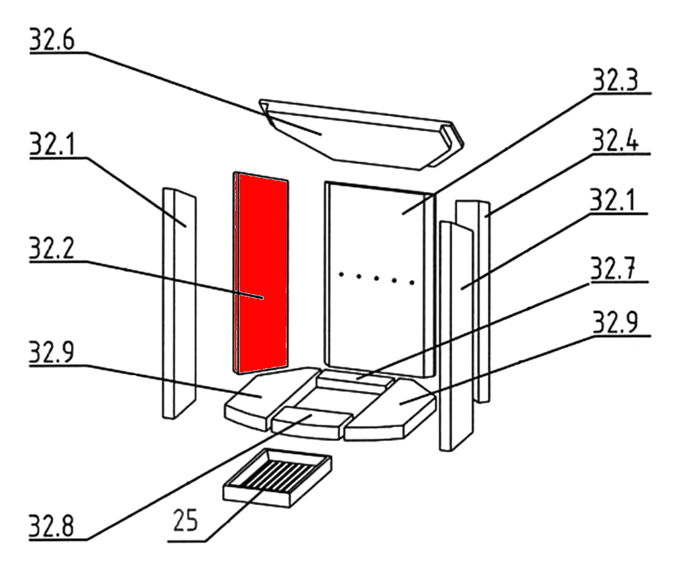
Oranier Arktis 8 Seitenstein links hinten D

Seitenstein /  Brennraumstein / Feuerraumstein / Kaminofenstein / Brennofenstein / Ofenstein / Holzofenstein

 

Produktinformationen "Oranier Arktis 8 Seitenstein links hinten D"

Original Seitenstein links hinten D für den Kaminofen Oranier Arktis 8

  • Es gibt verschiedene Ausmauerungen für dieses Modell. Bitte orientieren Sie sich an den Maßen vom Rückwandstein.
  • Erfahrungsgemäß wurde dieser Brennraumstein in dem Feuerraum verbaut, der einen gelochten Rückwandstein mit den Maßen 264 x 470 mm hat.

Oranier Arktis 8 Seitenstein links hinten Eckdaten:

  • Brennraumstein, Ofenstein
  • Vermiculitesteine
  • Maße (B/L/H) 137 mm x 520 mm x 25 mm
  • Material Vermiculite
  • Position 32.2 in der Explosionszeichnung
Eigenschaften "Oranier Arktis 8 Seitenstein links hinten D"
Hersteller: Oranier
Material: Vermiculite
Typ: 8
Modell: Arktis
Ersatzteilart: Seitenstein

EU-Verantwortlicher

Oranier Heiztechnik GmbH
Oranier Straße 1
35708 Haiger
DE
info@oranier.com

Hersteller

Oranier


DE

Ähnliche Artikel

Oranier Arktis 8 Ascherost
Original Ascherost für den Kaminofen Oranier Arktis 8 Oranier Arktis 8 Ascherost Eckdaten: Kaminrost, Brennofenrost Maße (B/L/H) 254 mm x 154 mm x 30 mm Material Guss Position 25 in der Explosionszeichnung
Produktnummer: 01016222

71,68 €*¹

Sofort verfügbar, Lieferzeit: 2-4 Tage

Nur 6 auf Lager!
Oranier Arktis 8 Zugumlenkung D
Original Zugumlenkung D für den Kaminofen Oranier Arktis 8 Es gibt verschiedene Ausmauerungen für dieses Modell. Bitte orientieren Sie sich an den Maßen vom Rückwandstein. Erfahrungsgemäß wurde dieser Brennraumstein in dem Feuerraum verbaut, der einen gelochten Rückwandstein mit den Maßen 264 x 470 mm hat. Oranier Arktis 8 Zugumlenkung Eckdaten: Rauchgasumlenkung, Flammenschild Maße (B/L/H) 463 mm x 215 mm x 25 mm Material Grenamat Position 32.6 in der Explosionszeichnung
Produktnummer: 01016754

50,86 €*¹

Sofort verfügbar, Lieferzeit: 2-4 Tage

Nur 2 auf Lager!
Oranier Arktis 8 Feuerraumauskleidung D
Original Feuerraumauskleidung D für den Kaminofen Oranier Arktis 8 Es gibt verschiedene Ausmauerungen für dieses Modell. Bitte orientieren Sie sich an den Maßen vom Rückwandstein (264 x 470 mm). Oranier Arktis 8 Feuerraumauskleidung Eckdaten: 10 Stück Feuerraumauskleidung, Brennraumsteine Material Vermiculite Bodenstein vorne (154 x 37 x 30 mm), Bodenstein hinten (154 x 53 x 30 mm) Bodenstein links (138 x 333 x 30 mm), Bodenstein rechts (138 x 333 x 30 mm) Seitenstein links vorne (95 x 520/565 x 25 mm), Seitenstein links hinten (137 x 468/515 x 25 mm) Seitenstein rechts vorne (95 x 520/565 x 25 mm), Seitenstein rechts hinten (137 x 468/515 x 25 mm) Rückwandstein (264 x 470 x 25 mm) Zugumlenkung (300/463 x 213 x 25 mm)
Produktnummer: 01020367

347,50 €*¹

Sofort verfügbar, Lieferzeit: 2-4 Tage