Zum Hauptinhalt springen Zur Suche springen Zur Hauptnavigation springen
Kostenloser Versand ab € 349,- deutschlandweit
Servicepartner von über 50 Herstellern
Über 40.000 Ersatzteile im Sortiment
+10 Jahre Erfahrung

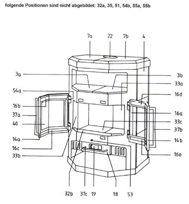
Olsberg Sördal Stehrost

Stehrost /  Glutfang / Holzfang / Rostreling / Aschefang

 

Produktinformationen "Olsberg Sördal Stehrost"

Original Stehrost für den Kaminofen Olsberg Sördal

Olsberg Sördal Stehrost Eckdaten:

  • Holzfang, Rostreling
  • Maße (B/L/H) 460 mm x 50 mm x 5 mm
  • Material Guss
Eigenschaften "Olsberg Sördal Stehrost"
Hersteller: Olsberg
Material: Guss
Modell: Sördal
Ersatzteilart: Stehrost

EU-Verantwortlicher

Olsberg GmbH
Hüttenstraße 38
59939 Olsberg
DE
info@olsberg.com

Ähnliche Artikel

Nur 4 auf Lager!
Olsberg Sördal Ascherost
Original Ascherost für den Kaminofen Olsberg Sördal Olsberg Sördal Ascherost Eckdaten: Gussrost, Feuerrost Maße (B/L/H) 245 mm x 108 mm x 10 mm Material Guss inklusive Ascherosthalterung inklusive Rüttelstange inklusive 2 Schrauben inklusive 2 Unterlegscheiben
Produktnummer: 01000592

358,90 €*¹

Sofort verfügbar, Lieferzeit: 2-4 Tage