Zum Hauptinhalt springen Zur Suche springen Zur Hauptnavigation springen
Kostenloser Versand ab € 349,- deutschlandweit
Servicepartner von über 50 Herstellern
Über 40.000 Ersatzteile im Sortiment
+10 Jahre Erfahrung

Olsberg Sördal Rüttelstange

Rüttelstange /  Rostzugstange / Rüttelroststange / Rüttelrechen / Rüttelrostrechen

 

Produktinformationen "Olsberg Sördal Rüttelstange"

Original Rüttelstange für den Kaminofen Olsberg Sördal

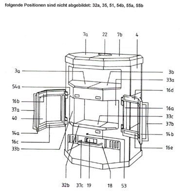
Olsberg Sördal Rüttelstange Eckdaten:

  • Rostzugstange, Rüttelrostrechen
  • Maße (B/L/H) 6 mm x 165 mm x 6 mm
  • Material Metall
  • Position 12D in der Explosionszeichnung
Eigenschaften "Olsberg Sördal Rüttelstange"
Hersteller: Olsberg
Material: Metall
Modell: Sördal
Ersatzteilart: Rüttelstange

EU-Verantwortlicher

Olsberg GmbH
Hüttenstraße 38
59939 Olsberg
DE
info@olsberg.com

Ähnliche Artikel

Nur 4 auf Lager!
Olsberg Sördal Ascherost
Original Ascherost für den Kaminofen Olsberg Sördal Olsberg Sördal Ascherost Eckdaten: Gussrost, Feuerrost Maße (B/L/H) 245 mm x 108 mm x 10 mm Material Guss inklusive Ascherosthalterung inklusive Rüttelstange inklusive 2 Schrauben inklusive 2 Unterlegscheiben
Produktnummer: 01000592

358,90 €*¹

Sofort verfügbar, Lieferzeit: 2-4 Tage