Zum Hauptinhalt springen Zur Suche springen Zur Hauptnavigation springen
Kostenloser Versand ab € 349,- deutschlandweit
Servicepartner von über 50 Herstellern
Über 40.000 Ersatzteile im Sortiment
+10 Jahre Erfahrung

Olsberg Golaya Aschekasten A

Aschekasten /  Aschelade / Ascheschublade / Aschebox / Aschetresor / Auffangbehälter

 

Produktinformationen "Olsberg Golaya Aschekasten A"

Original Aschekasten A für den Kaminofen Olsberg Golaya

  • Passend für Modelle bis 19.09.2009.

Olsberg Golaya Aschekasten Eckdaten:

  • Aschelade, Aschebox
  • Maße (B/L/H) 275 mm x 297 mm x 91 mm
  • Material Metall
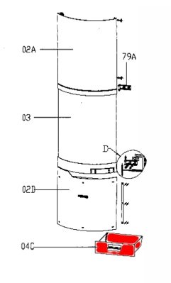
  • Position 04C in der Explosionszeichnung
Eigenschaften "Olsberg Golaya Aschekasten A"
Hersteller: Olsberg
Material: Metall
Modell: Golaya
Ersatzteilart: Aschekasten

EU-Verantwortlicher

Olsberg GmbH
Hüttenstraße 38
59939 Olsberg
DE
info@olsberg.com

Ähnliche Artikel

Nur 1 auf Lager!
Olsberg Golaya Sichtscheibe
Original Sichtscheibe für den Kaminofen Olsberg Golaya Olsberg Golaya Sichtscheibe Eckdaten: Ofenglas, Holzofenglas Maße (B/L/H) 446 mm x 560 mm x 4 mm Bogenlänge 502 mm Material Glas Form gebogen hitzebeständig
Produktnummer: 01000130

1.334,85 €*

Sofort verfügbar, Lieferzeit: 2-4 Tage

Nur 1 auf Lager!
Olsberg Golaya Ascherost A
Original Ascherost A für den Kaminofen Olsberg Golaya Passend für Modelle bis Baujahr 19.09.2009. Olsberg Golaya Ascherost Eckdaten: Gussrost, Ofenrost Maße (H) 30 mm Durchmesser 164 mm Material Guss Form rund
Produktnummer: 01025014

99,23 €*

Sofort verfügbar, Lieferzeit: 2-4 Tage

Olsberg Golaya Türdichtung Set
Türdichtung Set für den Kaminofen Olsberg Golaya 7-teiliges Set Olsberg Golaya Türdichtung Eckdaten: 7-teiliges Set Kordeldichtung Durchmesser 12 mm Länge 3 m Kleber Tube 17 ml Inhalt 1 Stück Dichtungsabbinder 4 Streifen Dichtungshülse (kaschiert optimal die Enden der Dichtschnur) 1 Stück
Produktnummer: 01025857

42,19 €*

Sofort verfügbar, Lieferzeit: 2-4 Tage

Olsberg Golaya Scheibendichtung
Scheibendichtung für den Kaminofen Olsberg Golaya Olsberg Golaya Scheibendichtung Eckdaten: Dichtschnur, Glasband Flachdichtung Maße (B/H) 8 mm x 2 mm Länge 3,00 m selbstklebend
Produktnummer: 01026343

Inhalt: 3 Meter (12,03 €* / 1 Meter)

36,10 €*

Sofort verfügbar, Lieferzeit: 2-4 Tage

Nur 6 auf Lager!
Olsberg Golaya Zugumlenkung A
Original Zugumlenkung A für den Kaminofen Olsberg Golaya Passend für Modelle bis Baujahr 19.09.2009. Olsberg Golaya Zugumlenkung Eckdaten: Rauchumlenkung, Flammenschild Schamottstein Maße (B/L/H) 400 mm x 140 mm x 30 mm Material Schamotte Position 37 in der Explosionszeichnung
Produktnummer: 01027385

93,61 €*

Sofort verfügbar, Lieferzeit: 2-4 Tage

Olsberg Golaya Feuerraumauskleidung A
Original Feuerraumauskleidung A für den Kaminofen Olsberg Golaya Für Modelle bis Baujahr 19.09.2009 6-teiliges Set Olsberg Golaya Feuerraumauskleidung Eckdaten: 6 Stück Feuerraumauskleidung, Brennraumsteine Material Schamotte Seitenstein links vorne (159 x 578 x 30 mm), Seitenstein rechts vorne (159 x 578 x 30 mm) Seitenstein links hinten (116 x 513 x 30 mm), Seitenstein rechts hinten (116 x 513 x 30 mm) Rückwandstein (219 x 515 x 30 mm) Zugumlenkung (400 x 140 x 30 mm)
Produktnummer: 01042410

851,52 €*

Lieferzeit ca. 2-3 Wochen