Zum Hauptinhalt springen Zur Suche springen Zur Hauptnavigation springen
Kostenloser Versand ab € 349,- deutschlandweit
Servicepartner von über 50 Herstellern
Über 40.000 Ersatzteile im Sortiment
+10 Jahre Erfahrung

Koppe Bregenz Seitenstein rechts hinten

Seitenstein /  Brennraumstein / Feuerraumstein / Kaminofenstein / Brennofenstein / Ofenstein / Holzofenstein

 

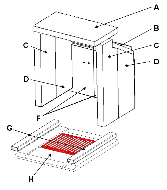
Produktinformationen "Koppe Bregenz Seitenstein rechts hinten"

Original Seitenstein rechts hinten für den Kaminofen Koppe Bregenz

Koppe Bregenz Seitenstein rechts hinten Eckdaten:

  • Brennofenstein, Holzofenstein
  • Schamottstein
  • Maße (B/L/H) 155 mm x 312/403 mm x 40 mm
  • Material Schamotte
  • Position D in der Explosionszeichnung
Eigenschaften "Koppe Bregenz Seitenstein rechts hinten"
Hersteller: Koppe
Material: Schamotte
Modell: Bregenz
Ersatzteilart: Seitenstein

EU-Verantwortlicher

Erwin Koppe keramische Heizgeräte GmbH
Koppe-Platz 1
92676 Eschenbach in der Oberpfalz
DE
info@ofenkoppe.de

Ähnliche Artikel

Ausverkauft
Koppe Bregenz Ascherost
Original Ascherost für den Kaminofen Koppe Bregenz Der Hersteller hat die Produktion dieses Artikels eingestellt. Sofern wir über einen Restbestand verfügen, ist dieses Ersatzteil bei uns erhältlich Die Umstellung auf den Gussboden erfordert die Montage von 2 Vierkantrohren. Wir empfehlen das Brennraumboden Umbau Set. Koppe Bregenz Ascherost Eckdaten: Feuerrost, Feuerraumrost Material Guss
Produktnummer: 01028969

118,78 €*¹

nicht mehr verfügbar, Produktion eingestellt

Nur 3 auf Lager!
Koppe Bregenz Zugumlenkung unten
Original Zugumlenkung unten für den Kaminofen Koppe Bregenz Koppe Bregenz Zugumlenkung unten Eckdaten: Rauchgasumlenkung, Flammenschild Maße (B/L/H) 400 mm x 225 mm x 30 mm Material Vermiculite Position B in der Explosionszeichnung
Produktnummer: 01028995

53,43 €*¹

Sofort verfügbar, Lieferzeit: 2-4 Tage

Koppe Bregenz Scheibendichtung
Scheibendichtung für den Kaminofen Koppe Bregenz Koppe Bregenz Scheibendichtung Eckdaten: Glasdichtung, Glasband Hohlkordeldichtung Länge 3,00 m Durchmesser 6 mm selbstklebend
Produktnummer: 01029139

Inhalt: 3 Meter (7,51 €*¹ / 1 Meter)

22,52 €*¹

Sofort verfügbar, Lieferzeit: 2-4 Tage

Ausverkauft
Koppe Bregenz Bodenstein Set
Original Bodenstein Set für den Kaminofen Koppe Bregenz Der Hersteller hat den 5-teiligen Bodenbereich (4 Bodensteine + Ascherost) auf einen Guss-Feuerraumboden umgestellt. Bodensteine und Ascherost werden nicht mehr produziert und müssen durch den Guss-Brennraumboden ersetzt werden. Die Umstellung auf den Gussboden erfordert die Montage von 2 Vierkantrohren. Koppe Bregenz Bodenstein Eckdaten: Brennraumstein, Feuerraumstein
Produktnummer: 01029182

118,78 €*¹

nur auf Anfrage erhältlich