Zum Hauptinhalt springen Zur Suche springen Zur Hauptnavigation springen
Kostenloser Versand ab € 349,- deutschlandweit
Servicepartner von über 50 Herstellern
Über 40.000 Ersatzteile im Sortiment
+10 Jahre Erfahrung

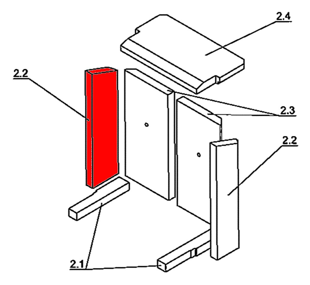
Justus Rügen Seitenstein links

Seitenstein /  Brennraumstein / Feuerraumstein / Kaminofenstein / Brennofenstein / Ofenstein / Holzofenstein

 

Produktinformationen "Justus Rügen Seitenstein links"

Original Seitenstein links für den Kaminofen Justus Rügen

  • Der Hersteller hat die Produktion dieses Artikels eingestellt. Sofern wir über einen Restbestand verfügen, ist dieses Ersatzteil bei uns erhältlich

Justus Rügen Seitenstein links Eckdaten:

  • Brennraumstein, Kaminofenstein
  • Maße (B/L/H) 100/120 mm x 420/455 mm x 30 mm
  • Material Vermiculite
  • Position 2.2 in der Explosionszeichnung
Eigenschaften "Justus Rügen Seitenstein links"
Hersteller: Justus
Material: Vermiculite
Modell: Rügen
Ersatzteilart: Seitenstein

EU-Verantwortlicher

Justus GmbH
Sechsheldener Straße 122
35708 Haiger-Sechshelden
DE
info@justus.de

Ähnliche Artikel

Nur 5 auf Lager!
Justus Rügen Zugumlenkung
Original Zugumlenkung für den Kaminofen Justus Rügen Justus Rügen Zugumlenkung Eckdaten: Prallplatte, Rauchumlenkung Vermiculitestein Maße (B/L/H) 390 mm x 220 mm x 30 mm Material Vermiculite Position 2.4 in der Explosionszeichnung
Produktnummer: 01005314

58,71 €*¹

Sofort verfügbar, Lieferzeit: 2-4 Tage

Justus Rügen Ascherost
Original Ascherost für den Kaminofen Justus Rügen Typ 4681, 4781 Justus Rügen Typ 4681, 4781 Ascherost Eckdaten: Kaminrost, Rostgitter Maße (B/L/H) 280 mm x 252 mm x 30 mm Material Guss
Produktnummer: 01005318

132,40 €*¹

Lieferzeit ca. 2-3 Wochen

Justus Rügen Sichtscheibe
Original Sichtscheibe für den Kaminofen Justus Rügen Justus Rügen Sichtscheibe Eckdaten: Kaminglas, Türglas Material Glas Form gebogen hitzebeständig
Produktnummer: 01005320

586,58 €*¹

Lieferzeit ca. 2-3 Wochen

Justus Rügen Türdichtung
Türdichtung für den Kaminofen Justus Rügen Typ 4681, 4781 Wir empfehlen einen Kleber und zusätzlich Dichtungsabbinder, die das Ausfransen der Enden verhindern. Justus Rügen Typ 4681, 4781 Türdichtung Eckdaten: Dichtschnur, Dichtung Kordeldichtung Länge 2,00 m Durchmesser 12 mm
Produktnummer: 01018924

Inhalt: 2 Meter (12,77 €*¹ / 1 Meter)

25,54 €*¹

Sofort verfügbar, Lieferzeit: 2-4 Tage

Ausverkauft
Justus Rügen Feuerraumauskleidung
Original Feuerraumauskleidung für den Kaminofen Justus Rügen Typ 4681, 4781 Der Hersteller hat die Produktion dieses Artikels eingestellt. Sofern wir über einen Restbestand verfügen, ist dieses Ersatzteil bei uns erhältlich 7-teiliges Set Justus Rügen Typ 4681, 4781 Feuerraumauskleidung Eckdaten: Material Vermiculite Bodenstein links (38/45 x 255/107 x 30 mm), Bodenstein rechts (38/45 x 255/107 x 30 mm) Seitenstein links (100/120 x 420/455 x 30 mm), Seitenstein rechts (100/120 x 420/455 x 30 mm) 1-fach gelochter Rückwandstein links (175/200 x 420 x 30 mm) 1-fach gelochter Rückwandstein rechts (175/200 x 420 x 30 mm) Zugumlenkung (350/390 x 220 x 30 mm) Positionen 2.1, 2.2, 2.3, 2.4 in der Explosionszeichnung
Produktnummer: 01020138

132,40 €*¹

nicht mehr verfügbar, Produktion eingestellt

Justus Rügen Scheibendichtung
Scheibendichtung für den Kaminofen Justus Rügen Typ 4681, 4781 Justus Rügen Typ 4681, 4781 Scheibendichtung Eckdaten: Glasdichtung, Ofenschnur Hohlkordeldichtung Länge 2,00 m Durchmesser 6 mm selbstklebend
Produktnummer: 01020207

Inhalt: 3 Meter (8,42 €*¹ / 1 Meter)

25,25 €*¹

Sofort verfügbar, Lieferzeit: 2-4 Tage