Zum Hauptinhalt springen Zur Suche springen Zur Hauptnavigation springen
Kostenloser Versand ab € 349,- deutschlandweit
Servicepartner von über 50 Herstellern
Über 40.000 Ersatzteile im Sortiment
+10 Jahre Erfahrung

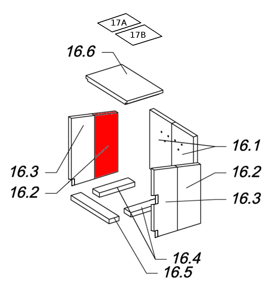
Justus Ohio Seitenstein links hinten A

Seitenstein /  Brennraumstein / Feuerraumstein / Kaminofenstein / Brennofenstein / Ofenstein / Holzofenstein

 

Produktinformationen "Justus Ohio Seitenstein links hinten A"

Original Seitenstein links hinten A für den Kaminofen Justus Ohio

  • Der Hersteller hat die Produktion dieses Artikels eingestellt. Sofern wir über einen Restbestand verfügen, ist dieses Ersatzteil bei uns erhältlich
  • Es gibt verschiedene Ausmauerungen für dieses Modell. Bitte orientieren Sie sich an den Aussparungen der vorderen Seitensteine.
  • Erfahrungsgemäß passt dieser Feuerraumstein in den Feuerraum, dessen vordere Seitensteine keine Aussparungen haben.

Justus Ohio Seitenstein links hinten Eckdaten:

  • Kaminofenstein, Holzofenstein
  • Vermiculitesteine
  • Maße (B/L/H) 165 mm x 356 mm x 25 mm
  • Material Vermiculite
  • Position 16.2 in der Explosionszeichnung
Eigenschaften "Justus Ohio Seitenstein links hinten A"
Hersteller: Justus
Material: Vermiculite
Modell: Ohio
Ersatzteilart: Seitenstein

EU-Verantwortlicher

Justus GmbH
Sechsheldener Straße 122
35708 Haiger-Sechshelden
DE
info@justus.de

Ähnliche Artikel

Nur 2 auf Lager!
Justus Ohio Zugumlenkung unten A
Original Zugumlenkung unten A für den Kaminofen Justus Ohio Es gibt verschiedene Ausmauerungen für dieses Modell. Bitte orientieren Sie sich an den Aussparungen der vorderen Seitensteine. Erfahrungsgemäß passt dieser Feuerraumstein in den Feuerraum, dessen vordere Seitensteine keine Aussparungen haben. Justus Ohio Zugumlenkung unten Eckdaten: Rauchgasumlenkung, Umlenkung Maße (B/L/H) 208/229 mm x 332/376 mm x 25 mm Material Vermiculite Position 16.6 in der Explosionszeichnung
Produktnummer: 01016997

41,50 €*

Sofort verfügbar, Lieferzeit: 2-4 Tage

Nur 2 auf Lager!
Justus Ohio Feuerraumauskleidung A
Original Feuerraumauskleidung A für den Kaminofen Justus Ohio Der Hersteller hat die Produktion dieses Artikels eingestellt. Sofern wir über einen Restbestand verfügen, ist dieses Ersatzteil bei uns erhältlich Es gibt verschiedene Ausmauerungen für dieses Modell. Bitte orientieren Sie sich an den Aussparungen der vorderen Seitensteine. In dieser Garnitur haben die Seitensteine keine Aussparungen. 10-teiliges Set Justus Ohio Feuerraumauskleidung Eckdaten: Material Vermiculite Bodenstein vorne (336 x 79 x 25 mm) Bodenstein links (58 x 220 x 25 mm) Bodenstein rechts (58 x 220 x 25 mm) Seitenstein links vorne (165 x 356/380 x 25 mm) Seitenstein rechts vorne (165 x 356/380 x 25 mm) Seitenstein links hinten (165 x 335/356 x 25 mm) Seitenstein rechts hinten (165 x 335/356 x 25 mm) 3-fach gelochter Rückwandstein links (191 x 335 x 25 mm) 3-fach gelochter Rückwandstein rechts (191 x 335 x 25 mm) Zugumlenkung unten (332/376 x 208/229 x 25 mm) Positionen 16.1, 16.2, 16.3, 16.4, 16.5, 16.6 in der Explosionszeichnung
Produktnummer: 01020345

159,52 €*

Sofort verfügbar, Lieferzeit: 2-4 Tage