Zum Hauptinhalt springen Zur Suche springen Zur Hauptnavigation springen
Kostenloser Versand ab € 349,- deutschlandweit
Servicepartner von über 50 Herstellern
Über 40.000 Ersatzteile im Sortiment
+10 Jahre Erfahrung

Haas+Sohn Pallazza 517.08 Steuerung

Steuerung /  Platine / Zentraleinheit / Regelungsplatine

 

Produktinformationen "Haas+Sohn Pallazza 517.08 Steuerung"

Original Steuerung für den Pelletofen Haas-Sohn Pallazza 517.08

  • Lieferung ohne Software! Diese muss vor Ort vom Herrsteller-Kundendienst installiert werden.

Haas-Sohn Pallazza 517.08 Steuerung Eckdaten:

  • Platine, Zentraleinheit
  • Zentraleinheit
  • bestückte Platine I/O 33.1
  • mit WLAN
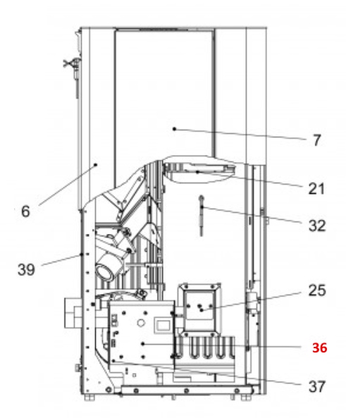
  • Position 36 in der Explosionszeichnung
Eigenschaften "Haas+Sohn Pallazza 517.08 Steuerung"
Hersteller: Haas-Sohn
Typ: 517.08
Modell: Pallazza
Ersatzteilart: Steuerung

EU-Verantwortlicher

Haas + Sohn Ofentechnik GmbH
Urstein Nord 67
5412 Puch
AT
info@haassohn.com

Ähnliche Artikel

Ausverkauft
Höllenhunde Anzündhilfen 100
Höllenhunde Anzündhilfen 100 Cerberus "Höllenhunde" sind Anzündhilfen aus reinem Naturprodukt und ein perfekter Begleiter beim Anzünden Ihres Kaminofens oder Kamin. Höllenhunde Eckdaten: Inhalt 100 Stück Länge 50 bis 55 mm Durchmesser ca. 22 bis 30 mm Wachsanteil 40 bis 50 % Holzarten sind Fichte und Kiefer leichtes entzünden lange Brenndauer Herkunft aus Deutschland
Produktnummer: 01003884

Inhalt: 100 Stück (0,14 €*¹ / 1 Stück)

14,29 €*¹

nicht mehr verfügbar, Produktion eingestellt

Cerberus Zündhölzer 50 Stück
Cerberus Zündhölzer 50 Stück Die Cerberus Kaminhaus Zündhölzer sind ideal zum Anzünden eines Kamins geeignet. Dank Ihrer Länge von 18,5 cm haben Sie einen ausreichenden Abstand zur Flamme und schützen so Ihre Finger. Zündhölzer Eckdaten: Inhalt 50 Stück Lange 18,5 cm
Produktnummer: 01006794

Inhalt: 50 Stück (0,06 €*¹ / 1 Stück)

2,99 €*¹

Sofort verfügbar, Lieferzeit: 2-4 Tage

Haas+Sohn Pallazza 517.08 Türdichtung
Original Türdichtung für den Pelletofen Haas-Sohn Pallazza 517.08 Für die Montage wird ein Kleber benötigt. Wir empfehlen Dichtungsabbinder, die das Ausfransen der Enden verhindern. Auch bieten wir eine Dichtungshülse, um die Enden optimal miteinander zu verbinden. Haas-Sohn Pallazza 517.08 Türdichtung Eckdaten: Türband, Ofenschnur Länge 3,00 m Durchmesser 12 mm
Produktnummer: 01015951

Inhalt: 3 Meter (29,72 €*¹ / 1 Meter)

89,16 €*¹

Sofort verfügbar, Lieferzeit: 2-4 Tage

Nur 6 auf Lager!
Haas+Sohn Pallazza 517.08 Scheibendichtung
Original Scheibendichtung für den Pelletofen Haas-Sohn Pallazza 517.08 Haas-Sohn Pallazza 517.08 Scheibendichtung Eckdaten: Dichtschnur, Holzofenschnur Flachdichtung Maße (B/H) 10 mm x 4 mm Länge 3,00 m selbstklebend
Produktnummer: 01016469

Inhalt: 3 Meter (11,47 €*¹ / 1 Meter)

34,42 €*¹

Sofort verfügbar, Lieferzeit: 2-4 Tage

Nur 4 auf Lager!
Haas+Sohn Pallazza 517.08 Dichtung Set
Original Dichtung Set für den Pelletofen Haas-Sohn Pallazza 517.08 7-teiliges Set Haas-Sohn Pallazza 517.08 Dichtung Eckdaten: 3 Stück Dichtplatte,Putzdeckeldichtung Revisionsdeckeldichtung Maße 120x116x4 mm 1 Stück Maße 150x120x4 mm 1 Stück Maße 121x121x4 mm 1Stück  Maße 137x112x4 mm Stück 1 Maße 172x112x116x4mm
Produktnummer: 01016987

186,30 €*¹

Sofort verfügbar, Lieferzeit: 2-4 Tage

Haas+Sohn Pallazza 517.08 Zugumlenkung
Original Zugumlenkung für den Pelletofen Haas-Sohn Pallazza 517.08 Haas-Sohn Pallazza 517.08 Zugumlenkung Eckdaten: Rauchumlenkung, Umlenkung Maße (B/L/H) 180 mm x 246 mm x 27 mm Material Stahl Position 21 in der Explosionszeichnung
Produktnummer: 01017752

36,96 €*¹

Sofort verfügbar, Lieferzeit: 2-4 Tage