Zum Hauptinhalt springen Zur Suche springen Zur Hauptnavigation springen
Kostenloser Versand ab € 349,- deutschlandweit
Servicepartner von über 50 Herstellern
Über 40.000 Ersatzteile im Sortiment
+10 Jahre Erfahrung

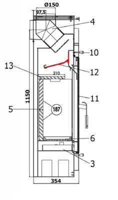
Haas+Sohn Alta 218.17 Zugumlenkung oben

Zugumlenkung /  Rauchgasumlenkung / Prallplatte / Rauchumlenkung / Umlenkung / Flammenschild

 

Produktinformationen "Haas+Sohn Alta 218.17 Zugumlenkung oben"

Original Zugumlenkung oben für den Kaminofen Haas-Sohn Alta 218.17

Haas-Sohn Alta 218.17 Zugumlenkung oben Eckdaten:

  • Prallplatte, Umlenkung
  • Maße (B/L/H) 425 mm x 195 mm x 15 mm
  • Material Metall
  • Position 12 in der Explosionszeichnung
Eigenschaften "Haas+Sohn Alta 218.17 Zugumlenkung oben"
Hersteller: Haas-Sohn
Material: Metall
Typ: 218.17
Modell: Alta
Ersatzteilart: Zugumlenkung

EU-Verantwortlicher

Haas + Sohn Ofentechnik GmbH
Urstein Nord 67
5412 Puch
AT
info@haassohn.com

Ähnliche Artikel

Haas+Sohn Alta 218.17 Sichtscheibe
Original Sichtscheibe für den Kaminofen Haas-Sohn Alta 218.17 Haas-Sohn Alta 218.17 Sichtscheibe Eckdaten: Holzofenglas, Scheibe Maße (B/L/H) 500 mm x 742 mm x 4 mm Form flach hitzebeständig Position 7 in der Explosionszeichnung
Produktnummer: 01000422

662,62 €*

Lieferzeit ca. 2-3 Wochen

Nur 5 auf Lager!
Haas+Sohn Alta 218.17 Ascherost
Original Ascherost für den Kaminofen Haas-Sohn Alta 218.17 Haas-Sohn Alta 218.17 Ascherost Eckdaten: Rost, Holzofenrost Maße (B/L/H) 358 mm x 224 mm x 30 mm Material Guss Form rechteckig
Produktnummer: 01010617

185,77 €*

Sofort verfügbar, Lieferzeit: 2-4 Tage

Nur 6 auf Lager!
Haas+Sohn Alta 218.17 Türdichtung
Original Türdichtung für den Kaminofen Haas-Sohn Alta 218.17 Für die Montage dieser Türdichtung wird ein Kleber benötigt. Auch empfehlen wir Dichtungsabbinder, die das Ausfransen verhindern. Eine zusätzliche Dichtungshülse kann die Enden optimal miteinander verbinden. Haas-Sohn Alta 218.17 Türdichtung Eckdaten: Türband, Dichtung Länge 3,00 m Durchmesser 10 mm
Produktnummer: 01015724

Inhalt: 3 Meter (11,47 €* / 1 Meter)

34,42 €*

Sofort verfügbar, Lieferzeit: 2-4 Tage

Haas+Sohn Alta 218.17 Scheibendichtung
Scheibendichtung für den Kaminofen Haas-Sohn Alta 218.17 Haas-Sohn Alta 218.17 Scheibendichtung Eckdaten: Dichtschnur, Glasband Hohlkordeldichtung Länge 2,20 m Durchmesser 6 mm selbstklebend
Produktnummer: 01016907

Inhalt: 3 Meter (29,47 €* / 1 Meter)

88,41 €*

Sofort verfügbar, Lieferzeit: 2-4 Tage

Haas+Sohn Alta 218.17 Feuerraumauskleidung
Original Feuerraumauskleidung für den Kaminofen Haas-Sohn Alta 218.17 5-teiliges Set Haas-Sohn Alta 218.17 Feuerraumauskleidung Eckdaten: Feuerraumauskleidung, Brennraumsteine Material Vermiculite Seitenstein links (225 x 480 x 30 mm), Seitenstein rechts (225 x 480 x 30 mm) Rückwandstein unten (410 x 240 x 30 mm), Rückwandstein oben (410 x 240 x 30 mm) Zugumlenkung unten (410 x 210 x 20 mm)
Produktnummer: 01020702

403,76 €*

Lieferzeit ca. 2-3 Wochen