Zum Hauptinhalt springen Zur Suche springen Zur Hauptnavigation springen
Kostenloser Versand ab € 349,- deutschlandweit
Servicepartner von über 50 Herstellern
Über 40.000 Ersatzteile im Sortiment
+10 Jahre Erfahrung

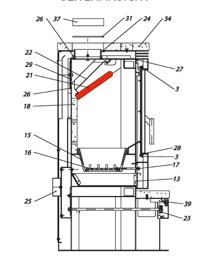
Fireplace Passat Novo Zugumlenkung

Zugumlenkung /  Rauchgasumlenkung / Prallplatte / Rauchumlenkung / Umlenkung / Flammenschild

 

Produktinformationen "Fireplace Passat Novo Zugumlenkung"

Original Zugumlenkung für den Kaminofen Fireplace Passat Novo

Fireplace Passat Novo Zugumlenkung Eckdaten:

  • Prallplatte, Rauchumlenkung
  • Vermiculitestein
  • Maße (B/L/H) 410/440 mm x 237 mm x 30 mm
  • Material Vermiculite
  • Position 21 in der Explosionszeichnung
Eigenschaften "Fireplace Passat Novo Zugumlenkung"
Hersteller: Fireplace
Material: Vermiculite
Typ: Novo
Modell: Passat
Ersatzteilart: Zugumlenkung

EU-Verantwortlicher

Fireplace Kft.
Vértanúk tere 4
2800 Tatabánya
HU
info@fireplace.de

Ähnliche Artikel

Nur 4 auf Lager!
Fireplace Passat Novo Ascherost
Original Ascherost für den Kaminofen Fireplace Passat Novo Fireplace Passat Novo Ascherost Eckdaten: Feuerrost, Feuerraumrost Maße (B/L/H) 320 mm x 175 mm x 10 mm Material Guss Rostlager ist nicht enthalten Position 16 in der Explosionszeichnung
Produktnummer: 01009157

76,90 €*

Sofort verfügbar, Lieferzeit: 2-4 Tage

Nur 2 auf Lager!
Fireplace Passat Novo Feuerraumauskleidung
Original Feuerraumauskleidung für den Kaminofen Fireplace Passat Novo 4-teiliges Set Fireplace Passat Novo Feuerraumauskleidung Eckdaten: 4 Stück Feuerraumauskleidung, Brennraumsteine Material Vermiculite Seitenstein links (305/465 x 235 x 30 mm), Seitenstein rechts (305/465 x 235 x 30 mm) Rückwandstein mit Bohrungen (471 x 302 x 30 mm) Zugumlenkung (410/440 x 237 x 30 mm) der Ascherost ist nicht enthalten
Produktnummer: 01024033

313,14 €*

Sofort verfügbar, Lieferzeit: 2-4 Tage