Zum Hauptinhalt springen Zur Suche springen Zur Hauptnavigation springen
Kostenloser Versand ab € 349,- deutschlandweit
Servicepartner von über 50 Herstellern
Über 40.000 Ersatzteile im Sortiment
+10 Jahre Erfahrung

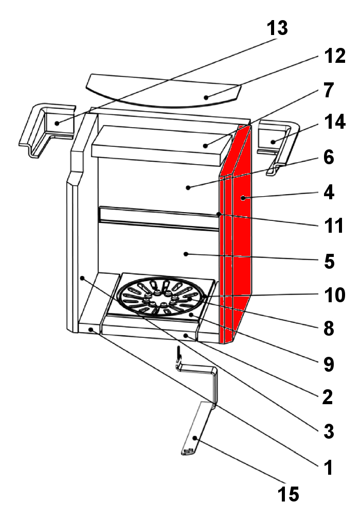
Drooff Malgrade Seitenstein rechts

Seitenstein /  Brennraumstein / Feuerraumstein / Kaminofenstein / Brennofenstein / Ofenstein / Holzofenstein

 

Produktinformationen "Drooff Malgrade Seitenstein rechts"

Original Seitenstein rechts für den Kaminofen Drooff Malgrade

Drooff Malgrade Seitenstein rechts Eckdaten:

  • Kaminofenstein, Holzofenstein
  • Maße (B/L/H) 280 mm x 448 mm x 30 mm
  • Material Schamotte
  • Position 4 in der Explosionszeichnung
Eigenschaften "Drooff Malgrade Seitenstein rechts"
Hersteller: Drooff
Material: Schamotte
Modell: Malgrade
Ersatzteilart: Seitenstein

EU-Verantwortlicher

Drooff Kaminöfen GmbH & Co. KG
Keffelker Straße 40
59929 Brilon
DE
info@drooff-kaminofen.de

Ähnliche Artikel

Drooff Malgrade Ascherost
Original Ascherost für den Kaminofen Drooff Malgrade Drooff Malgrade Ascherost Eckdaten: Brennraumrost, Holzofenrost Maße (H) 18 mm Durchmesser 200 mm Material Guss Position 8 in der Explosionszeichnung
Produktnummer: 01030668

119,73 €*¹

Lieferzeit ca. 2-3 Wochen

Drooff Malgrade Feuerraumauskleidung
Original Feuerraumauskleidung für den Kaminofen Drooff Malgrade 8-teiliges Set Drooff Malgrade Feuerraumauskleidung Eckdaten: Feuerraumauskleidung, Brennraumsteine Material Schamotte Bodenstein vorne (229 x 49 x 26 mm) Bodenstein links (52 x 278 x 26 mm), Bodenstein rechts (52 x 278 x 26 mm) Seitenstein links (280 x 448/392 x 30 mm), Seitenstein rechts (448 x 280 x 30 mm) Rückwandstein oben (386 x 250 x 30 mm) Zugumlenkung unten (312 x 200 x 30 mm) Material Guss Rückwandstein unten  (385 x 205 x 30 mm) Positionen 1, 2, 3, 4, 5, 6, 7 in der Explosionszeichnung
Produktnummer: 01030805

640,28 €*¹

Lieferzeit ca. 2-3 Wochen

Drooff Malgrade Türdichtung
Türdichtung für den Kaminofen Drooff Malgrade Für diese Kordeldichtung empfehlen wir einen Dichtungskleber. Für diese Dichtung empfehlen wir Dichtungsabbinder, damit die Enden nicht ausfransen. Drooff Malgrade Türdichtung Eckdaten: Dichtschnur, Ofenschnur Kordeldichtung Länge 2,00 m Durchmesser 10 mm
Produktnummer: 01030849

Inhalt: 2 Meter (32,54 €*¹ / 1 Meter)

65,07 €*¹

Sofort verfügbar, Lieferzeit: 2-4 Tage

Drooff Malgrade Scheibendichtung
Scheibendichtung für den Kaminofen Drooff Malgrade Drooff Malgrade Scheibendichtung Eckdaten: Glasband, Ofenschnur Flachdichtung Maße (B/H) 8 mm x 2 mm Länge 2,00 m selbstklebend
Produktnummer: 01030875

Inhalt: 2 Meter (20,82 €*¹ / 1 Meter)

41,64 €*¹

Sofort verfügbar, Lieferzeit: 2-4 Tage