Zum Hauptinhalt springen Zur Suche springen Zur Hauptnavigation springen
Kostenloser Versand ab € 349,- deutschlandweit
Servicepartner von über 50 Herstellern
Über 40.000 Ersatzteile im Sortiment
+10 Jahre Erfahrung

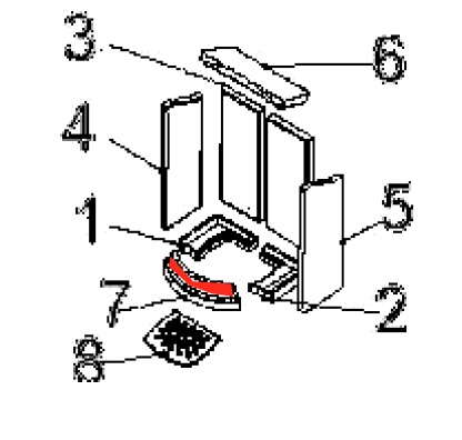
Austroflamm Koko Holzfang

Holzfang /  Glutfang / Stehrost / Vorderstein / Aschefang

 

Produktinformationen "Austroflamm Koko Holzfang"

Original Holzfang für den Kaminofen Austroflamm Koko

Austroflamm Koko Holzfang Eckdaten:

  • Glutfang, Stehrost
  • Maße (B/L/H) 385 mm x 100 mm x 95 mm
  • Material Keramott
  • Position 7 in der Explosionszeichnung
Eigenschaften "Austroflamm Koko Holzfang"
Hersteller: Austroflamm
Material: Keramott
Modell: Koko
Ersatzteilart: Holzfang

EU-Verantwortlicher

Austroflamm GmbH
Austroflamm-Platz 1
4631 Krenglbach
AT
info@austroflamm.com

Ähnliche Artikel

Austroflamm Koko Sichtscheibe
Original Sichtscheibe für den Kaminofen Austroflamm Koko Austroflamm Koko Sichtscheibe Eckdaten: Kaminglas, Scheibe Material Glas Form gebogen hitzebeständig mit Logo
Produktnummer: 01002118

938,31 €*¹

Lieferzeit ca. 2-3 Wochen

Austroflamm Koko Ascherost
Original Ascherost für den Kaminofen Austroflamm Koko Austroflamm Koko Ascherost Eckdaten: Ofenrost, Brennofenrost Maße (B/L/H) 245 mm x 200 mm x 10 mm Material Guss
Produktnummer: 01021344

52,60 €*¹

Sofort verfügbar, Lieferzeit: 2-4 Tage

Nur 1 auf Lager!
Austroflamm Koko Türdichtung
Türdichtung für den Kaminofen Austroflamm Koko Wir empfehlen einen feuerfesten Kleber für die Montage und Dichtungsabbinder, die das Ausfransen der Enden verhindern. Eine zusätzliche Dichtungshhülse, kann die Dichtschnurenden optimal verbinden. Austroflamm Koko Türdichtung Eckdaten: Dichtschnur, Holzofenschnur Kordeldichtung Länge 3,00 m Durchmesser 14 mm Position 15 in der Explosionszeichnung
Produktnummer: 01021408

Inhalt: 3 Meter (18,47 €*¹ / 1 Meter)

55,42 €*¹

Sofort verfügbar, Lieferzeit: 2-4 Tage

Austroflamm Koko Feuerraumauskleidung
Original Feuerraumauskleidung für den Kaminofen Austroflamm Koko 8-teiliges Set Austroflamm Koko Feuerraumauskleidung Eckdaten: 8 Stück Feuerraumsteine, Brennraumsteine Material Keramott Seitenstein links (545/495 x 210 x 30 mm), Seitenstein rechts (545/495 x 210 x 30 mm) Rückwandstein links (500 x 210 x 30 mm), Rückwandstein rechts (500 x 210 x 30 mm) Zugumlenkung (420 x 180 x 35 mm) Holzfänger (385 x 100 x 95 mm) Bodenstein links (230 x 215 x 35 mm), Bodenstein rechts (230 x 215 x 35 mm)
Produktnummer: 01022247

446,42 €*¹

Lieferzeit ca. 2-3 Wochen

Nur 3 auf Lager!
Austroflamm Koko Zugumlenkung
Original Zugumlenkung für den Kaminofen Austroflamm Koko Austroflamm Koko Zugumlenkung Eckdaten: Prallplatte, Umlenkung Maße (B/L/H) 180 mm x 420 mm x 35 mm Material Keramott
Produktnummer: 01022249

76,77 €*¹

Sofort verfügbar, Lieferzeit: 2-4 Tage

Austroflamm Koko Scheibendichtung Set
Scheibendichtung Set für den Kaminofen Austroflamm Koko 2-teiliges Set Austroflamm Koko Scheibendichtung Eckdaten: Scheibendichtung Flachdichtung Maße 8 x 2 mm Länge 2 m selbstklebend Scheibenhalter Dichtung Flachdichtung Maße 8 x 2 mm Länge 2 m selbstklebend
Produktnummer: 01022398

Inhalt: 4 Meter (19,03 €*¹ / 1 Meter)

76,13 €*¹

Sofort verfügbar, Lieferzeit: 2-4 Tage