Zum Hauptinhalt springen Zur Suche springen Zur Hauptnavigation springen
Kostenloser Versand ab € 349,- deutschlandweit
Servicepartner von über 50 Herstellern
Über 40.000 Ersatzteile im Sortiment
+10 Jahre Erfahrung

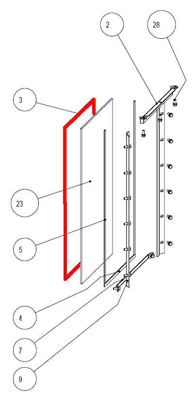
Austroflamm Glass Scheibendichtung links

Scheibendichtung /  Glasdichtung / Dichtschnur / Dichtung / Glasband / Ofenschnur / Holzofenschnur

 

Produktinformationen "Austroflamm Glass Scheibendichtung links"

Scheibendichtung links für den Kaminofen Austroflamm Glass

  • Dieses Modell hat mehrere Sichtscheiben
  • Diese Scheibendichtung befindet sich links zwischen Korpus und Glas.

Austroflamm Glass Scheibendichtung links Eckdaten:

  • Glasband, Holzofenschnur
  • Flachdichtung
  • Maße (B/H) 8 mm x 2 mm
  • Länge 2,00 m
  • selbstklebend
  • Position 3 in der Explosionszeichnung
Eigenschaften "Austroflamm Glass Scheibendichtung links"
Hersteller: Austroflamm
Modell: Glass
Ersatzteilart: Scheibendichtung

EU-Verantwortlicher

Austroflamm GmbH
Austroflamm-Platz 1
4631 Krenglbach
AT
info@austroflamm.com

Zubehör

Dichtungsabbinder für Scheibendichtung
Dichtungsabbinder für Scheibendichtung Abbinder Eckdaten: Verhindert das Ausfransen der Dichtungsenden.   Maße 100 x 25 mm pro Steifen feuerfester Abbinder Farbe schwarz 2 Streifen
Produktnummer: 01003273

Inhalt: 2 Stück (1,78 €* / 1 Stück)

3,56 €*

Sofort verfügbar, Lieferzeit: 2-4 Tage

Ähnliche Artikel

Nur 1 auf Lager!
Austroflamm Glass Sichtscheibe mittig
Original Sichtscheibe mittig für den Kaminofen Austroflamm Glass Dieses Modell hat mehrere Sichtscheiben. Diese Glasscheibe befindet sich frontal in der Feuerraumtür. Austroflamm Glass Sichtscheibe mittig Eckdaten: Türglas, Glas Form flach hitzebeständig Position 4 in der Explosionszeichnung
Produktnummer: 01008075

251,64 €*

Sofort verfügbar, Lieferzeit: 2-4 Tage

Austroflamm Glass Sichtscheibe links
Original Sichtscheibe links für den Kaminofen Austroflamm Glass Dieses Modell hat mehrere Sichtscheiben Diese Glasscheibe befindet sich auf der linken Seite Austroflamm Glass Sichtscheibe links Eckdaten: Türglas, Glas Maße (B/L/H) 240 mm x 445 mm x 4 mm Material Glas Form flach hitzebeständig Position 23 in der Explosionszeichnung
Produktnummer: 01008076

250,22 €*

Lieferzeit ca. 2-3 Wochen

Austroflamm Glass Sichtscheibe rechts
Original Sichtscheibe rechts für den Kaminofen Austroflamm Glass Dieses Modell hat mehrere Sichtscheiben Diese Glasscheibe befindet sich auf der rechten Seite Austroflamm Glass Sichtscheibe rechts Eckdaten: Ofenglas, Türglas Maße (B/L/H) 240 mm x 445 mm x 4 mm Material Glas Form flach hitzebeständig
Produktnummer: 01021008

250,22 €*

Lieferzeit ca. 2-3 Wochen

Austroflamm Glass Ascherost
Original Ascherost für den Kaminofen Austroflamm Glass Austroflamm Glass Ascherost Eckdaten: Brennraumrost, Brennofenrost Maße (B/L/H) 245 mm x 200 mm x 10 mm Material Guss
Produktnummer: 01021339

52,60 €*

Sofort verfügbar, Lieferzeit: 2-4 Tage

Austroflamm Glass Türdichtung
Türdichtung für den Kaminofen Austroflamm Glass Wir empfehlen einen feuerfesten Kleber für die Montage und Dichtungsabbinder, die das Ausfransen der Enden verhindern. Eine zusätzliche Dichtungshhülse, kann die Dichtschnurenden optimal verbinden. Austroflamm Glass Türdichtung Eckdaten: Türband, Holzofenschnur Kordeldichtung Länge 3,00 m Durchmesser 14 mm
Produktnummer: 01021385

Inhalt: 3 Meter (18,47 €* / 1 Meter)

55,42 €*

Sofort verfügbar, Lieferzeit: 2-4 Tage

Nur 10 auf Lager!
Austroflamm Glass Scheibendichtung Set
Scheibendichtung Set für den Kaminofen Austroflamm Glass Dieses Modell hat mehrere Sichtscheiben. Diese Set beinhaltet alle Dichtschnüre, die zum Austausch aller Scheibendichtungen und Scheibenhalterdichtungen benötigt werden. 6-teiliges Set Austroflamm Glass Scheibendichtung Eckdaten: Scheibendichtung mittig (zwischen Frontglas und Tür positioniert) Maße 8 x 2 mm Länge 1,6 m selbstklebend Scheibendichtung links (zwischen Korpus und seitlichem Glas positioniert) Maße 8 x 2 mm Länge 2 m selbstklebend Scheibendichtung rechts (zwischen Korpus und seitlichem Glas positioniert) Maße 8 x 2 mm Länge 2 m selbstklebend Scheibenhalter Dichtung mittig (zwischen Frontglas und Glashaltern positioniert) Maße 8 x 2 mm Länge 1,7 m selbstklebend Scheibenhalter Dichtung links (seitlich zwischen Korpus und Glashaltern positioniert) Maße 8 x 2 mm Länge 1,2 m selbstklebend Scheibenhalter Dichtung rechts (seitlich zwischen Korpus und Glashaltern positioniert) Maße 8 x 2 mm Länge 1,2 m selbstklebend
Produktnummer: 01022214

160,72 €*

Sofort verfügbar, Lieferzeit: 2-4 Tage

Nur 4 auf Lager!
Austroflamm Glass Feuerraumauskleidung
Original Feuerraumauskleidung für den Kaminofen Austroflamm Glass 7-teiliges Set Austroflamm Glass Feuerraumauskleidung Eckdaten: Feuerraumsteine, Brennraumsteine Material Keramott Holzfang (275 x 80 x 100 mm) Bodenstein links (295 x 85 x 100 mm), Bodenstein rechts (290 x 90 x 100 mm) Bodenstein hinten (326 x 76 x 33 mm) Rückwandstein links (440 x 175 x 40 mm), Rückwandstein rechts (440 x 175 x 40 mm) Zugumlenkung (290 x 285 x 35 mm)
Produktnummer: 01022265

326,99 €*

Sofort verfügbar, Lieferzeit: 2-4 Tage