Zum Hauptinhalt springen Zur Suche springen Zur Hauptnavigation springen
Kostenloser Versand ab € 349,- deutschlandweit
Servicepartner von über 50 Herstellern
Über 40.000 Ersatzteile im Sortiment
+10 Jahre Erfahrung

Austroflamm Darling Scheibendichtung

Scheibendichtung /  Glasdichtung / Dichtschnur / Dichtung / Glasband / Ofenschnur / Holzofenschnur

 

Produktinformationen "Austroflamm Darling Scheibendichtung"

Scheibendichtung für den Kaminofen Austroflamm Darling

Austroflamm Darling Scheibendichtung Eckdaten:

  • Dichtschnur, Glasband
  • Flachdichtung
  • Maße (B/H) 8 mm x 2 mm
  • Länge 2,00 m
  • selbstklebend
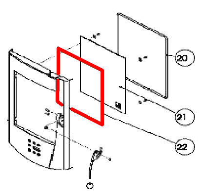
  • Position 22 in der Explosionszeichnung
Eigenschaften "Austroflamm Darling Scheibendichtung"
Hersteller: Austroflamm
Modell: Darling
Ersatzteilart: Scheibendichtung

EU-Verantwortlicher

Austroflamm GmbH
Austroflamm-Platz 1
4631 Krenglbach
AT
info@austroflamm.com

Zubehör

Dichtungsabbinder für Scheibendichtung
Dichtungsabbinder für Scheibendichtung Abbinder Eckdaten: Verhindert das Ausfransen der Dichtungsenden.   Maße 100 x 25 mm pro Steifen feuerfester Abbinder Farbe schwarz 2 Streifen
Produktnummer: 01003273

Inhalt: 2 Stück (1,78 €*¹ / 1 Stück)

3,56 €*¹

Sofort verfügbar, Lieferzeit: 2-4 Tage

Ähnliche Artikel

Austroflamm Darling Zugumlenkung Halterung groß
Original Halterung für Zugumlenkung groß für den Kaminofen Austroflamm Darling Austroflamm Darling Halterung für Zugumlenkung Eckdaten: Haltevorrichtung, Halter Material Guss Position 3 in der Explosionszeichnung
Produktnummer: 01001317

71,09 €*¹

Lieferzeit ca. 2-3 Wochen

Austroflamm Darling Sichtscheibe
Original Sichtscheibe für den Kaminofen Austroflamm Darling Austroflamm Darling Sichtscheibe Eckdaten: Glaskeramik, Schauglas Maße (L/H) 4 mm x 335 mm Durchmesser 412 mm Material Glas Form gerade hitzebeständig Position 21 in der Explosionszeichnung
Produktnummer: 01001321

227,46 €*¹

Lieferzeit ca. 2-3 Wochen

Austroflamm Darling Ascherost B
Original Ascherost B für den Kaminofen Austroflamm Darling Austroflamm Darling Ascherost Eckdaten: Brennofenrost, Holzofenrost Durchmesser 215 mm Stärke 15 mm Material Guss Farbe schwarz Position 8 in der Explosionszeichnung
Produktnummer: 01021365

76,77 €*¹

Lieferzeit ca. 2-3 Wochen

Austroflamm Darling Feuerraumauskleidung
Original Feuerraumauskleidung für den Kaminofen Austroflamm Darling 3-teiliges Set Austroflamm Darling Feuerraumauskleidung Eckdaten: 3 Stück Feuerraumsteine, Brennraumsteine Material Keramott Seitenstein links (320 x 310 x 20 mm) Seitenstein rechts (320 x 310 x 20 mm) Rückwandstein geriffelt (290 x 250 x 20 mm)
Produktnummer: 01022291

159,23 €*¹

Lieferzeit ca. 2-3 Wochen

Nur 8 auf Lager!
Austroflamm Darling Türdichtung Set
Türdichtung Set für den Kaminofen Austroflamm Darling 7-teiliges Set Austroflamm Darling Türdichtung Eckdaten: Türdichtung Kordeldichtung Durchmesser 12 mm Länge 2 m Feuerfester Kleber (für Modelle ohne Nut) Inhalt 17 ml Dichtungsabbinder (verhindern das Ausfransen der Enden) 4 Streifen Dichtungshülse (verbindet die Dichtschnurenden) 1 Stück
Produktnummer: 01022666

37,22 €*¹

Sofort verfügbar, Lieferzeit: 2-4 Tage