Zum Hauptinhalt springen Zur Suche springen Zur Hauptnavigation springen
Kostenloser Versand ab € 349,- deutschlandweit
Servicepartner von über 50 Herstellern
Über 40.000 Ersatzteile im Sortiment
+10 Jahre Erfahrung

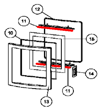
Austroflamm Chester Compact Scheibenhalter Dichtung

Dichtung /  Dichtschnur / Dichtband / Dichtungsband / Dichtungsschnur

 

Produktinformationen "Austroflamm Chester Compact Scheibenhalter Dichtung"

Dichtung für Scheibenhalter für den Kaminofen Austroflamm Chester Compact

  • Diese Dichtschnur ist zwischen Glas und Glashaltern positioniert
  • Die Länge ist ausreichend, um die Dichtungen vom oberen und unteren Scheibenhalter auszutauschen.

Austroflamm Chester Compact Dichtung für Scheibenhalter Eckdaten:

  • Dichtschnur, Dichtband
  • Flachdichtung
  • Maße (B/H) 8 mm x 2 mm
  • Länge 1,00 m
  • selbstklebend
  • Position 11 in der Explosionszeichnung
Eigenschaften "Austroflamm Chester Compact Scheibenhalter Dichtung"
Hersteller: Austroflamm
Typ: Compact
Modell: Chester
Ersatzteilart: Dichtung

EU-Verantwortlicher

Austroflamm GmbH
Austroflamm-Platz 1
4631 Krenglbach
AT
info@austroflamm.com

Ähnliche Artikel

Nur 1 auf Lager!
Austroflamm Chester Compact Scheibendichtung
Original Scheibendichtung für den Kaminofen Austroflamm Chester Compact Wir empfehlen den zeitgleichen Austausch der Dichtung der Scheibenhalter. Diese ist separat bei uns erhältlich. Austroflamm Chester Compact Scheibendichtung Eckdaten: Glasband, Ofenschnur Länge 2,00 m Durchmesser 8 mm Position 10 in der Explosionszeichnung
Produktnummer: 01007994

Inhalt: 2 Meter (14,21 €*¹ / 1 Meter)

28,42 €*¹

Sofort verfügbar, Lieferzeit: 2-4 Tage

Austroflamm Chester Compact Sichtscheibe
Original Sichtscheibe für den Kaminofen Austroflamm Chester Compact Austroflamm Chester Compact Sichtscheibe Eckdaten: Ofenglas, Holzofenglas Maße (B/L/H) 420 mm x 498 mm x 4 mm Material Glas Form flach hitzebeständig Position 15 in der Explosionszeichnung
Produktnummer: 01008001

324,15 €*¹

Lieferzeit ca. 2-3 Wochen

Austroflamm Chester Compact Türdichtung
Original Türdichtung für den Kaminofen Austroflamm Chester Compact Austroflamm Chester Compact Türdichtung Eckdaten: Dichtschnur, Holzofenschnur Lippendichtung Maße (B/H) 8 mm x 16 mm Länge 2,00 m Position 12 in der Explosionszeichnung
Produktnummer: 01008003

Inhalt: 2 Meter (31,28 €*¹ / 1 Meter)

62,56 €*¹

Lieferzeit ca. 2-3 Wochen

Nur 3 auf Lager!
Austroflamm Chester Compact Zugumlenkung
Original Zugumlenkung für den Kaminofen Austroflamm Chester Compact Austroflamm Chester Compact Zugumlenkung Eckdaten: Prallplatte, Umlenkung Maße (B/L/H) 235 mm x 366 mm x 70 mm Material Keramott Position 7 in der Explosionszeichnung
Produktnummer: 01008004

98,09 €*¹

Sofort verfügbar, Lieferzeit: 2-4 Tage

Nur 1 auf Lager!
Austroflamm Chester Compact Feuerraumauskleidung
Original Feuerraumauskleidung für den Kaminofen Austroflamm Chester Compact 8-teiliges Set Austroflamm Chester Compact Feuerraumauskleidung Eckdaten: 8 Stück Feuerraumsteine, Brennraumsteine Material Keramott Bodenstein links (215 x 242 x 30 mm), Bodenstein rechts (215 x 242 x 30 mm) Holzfänger (373 x 84 x 105 mm) Seitenstein links (480/405 x 220 x 55/35 mm), Seitenstein rechts (215 x 405/480 x 45 mm) Rückwandstein links (390 x 178 x 58/34 mm), Rückwandstein rechts (390 x 178 x 58/34 mm) Zugumlenkung (366 x 235 x 70 mm)
Produktnummer: 01022493

453,52 €*¹

Sofort verfügbar, Lieferzeit: 2-4 Tage